Aquí encontrará todas las piezas y dibujos técnicos disponibles de 'Bosch 3603F76000 ( PAM220 )'. Desde aquí podrá pedir todas las piezas deseadas directamente. Para muchas piezas de repuesto, es necesario pasar un pedido al fabricante. Dependiendo de la marca, el plazo de entrega puede variar entre una y cuatro semanas. Toda la información que tenemos está en nuestro sitio web. No podremos aconsejarle sobre lo que necesita hasta que entregue la máquina para su reparación. Tenga en cuenta lo siguiente a la hora de cursar su pedido:
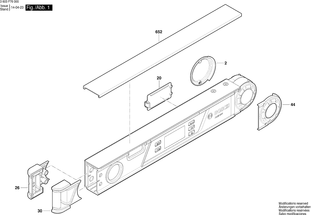
Dibujo técnico de los/las Bosch 3603F76000 ( PAM220 )
Lista de las piezas de repuesto de Bosch 3603F76000 ( PAM220 )
| Pos. | Descripción | Precio con el IVA excluido | Precio con el IVA incluido | |
| Los precios mostrados incluyen el IVA | ||||
| PLACA DE PARADA | ||||
| 2 | 1619PA7097 | 2.52 | 3.05 | |
| Tapa de la caja de la batería | ||||
| 20 | 1619PA7115 | 1.90 | 2.30 | |
| Cubierta TURBO II | ||||
| 26 | 1619PA7121 | 3.04 | 3.68 | |
| Cubierta TURBO II | ||||
| 30 | 1619PA7125 | 3.04 | 3.68 | |
| Cubierta TURBO II | ||||
| 44 | 1619PA7139 | 2.52 | 3.05 | |
| Raíl Deslizante | ||||
| 652 | 1619PA7119 | 9.47 | 11.46 | |