Aquí encontrará todas las piezas y dibujos técnicos disponibles de 'Fein 72702700235 ( KBM32Q )'. Desde aquí podrá pedir todas las piezas deseadas directamente. Para muchas piezas de repuesto, es necesario pasar un pedido al fabricante. Dependiendo de la marca, el plazo de entrega puede variar entre una y cuatro semanas. Toda la información que tenemos está en nuestro sitio web. No podremos aconsejarle sobre lo que necesita hasta que entregue la máquina para su reparación. Tenga en cuenta lo siguiente a la hora de cursar su pedido:
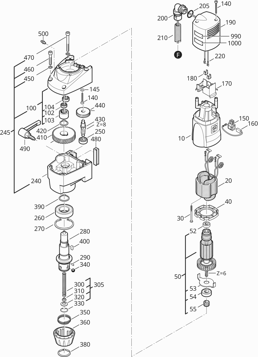
Dibujo técnico de los/las Fein 72702700235 ( KBM32Q )
Lista de las piezas de repuesto de Fein 72702700235 ( KBM32Q )
| Pos. | Descripción | Precio con el IVA excluido | Precio con el IVA incluido | |
| Los precios mostrados incluyen el IVA | ||||
| Ya no disponible, sin reemplazo | ||||
| 10 | 31901107022 | |||
| Ya no disponible, sin reemplazo | ||||
| 20 | 51271001236 | |||
| TORNILLO M4X35 | ||||
| 30 | 43070004001 | 1.04 | 1.26 | |
| ANILLO DEFLECTOR DE AIRE OSC 18 | ||||
| 40 | 31428112006 | 3.13 | 3.79 | |
| Inducido | ||||
| 50 | 53271007234 | 160.78 | 194.54 | |
| RODAMIENTO DE BOLAS OSC 18 | ||||
| 52 | 41701001172 | 8.21 | 9.93 | |
| Placa de Soporte | ||||
| 53 | 32416100000 | 2.09 | 2.53 | |
| RODAMIENTO DE BOLAS OSC 18 | ||||
| 54 | 41701007050 | 11.35 | 13.73 | |
| Arandela de sellado | ||||
| 55 | 32612062001 | 5.36 | 6.49 | |
| Rodamiento intermedio | ||||
| 100 | 31506370018 | 170.98 | 206.89 | |
| Sello de aceite | ||||
| 102 | 40608066005 | 3.90 | 4.72 | |
| MANGUITO | ||||
| 103 | 41705038005 | 16.27 | 19.69 | |
| RODAMIENTO DE BOLAS OSC 18 | ||||
| 104 | 41701001010 | 6.19 | 7.49 | |
| TORNILLO M4X35 | ||||
| 140 | 43070007002 | 1.04 | 1.26 | |
| Anillo de sellado | ||||
| 145 | 40611007008 | 3.68 | 4.45 | |
| Soporte de Cepillo de Carbono | ||||
| 150 | 30712086027 | 7.10 | 8.59 | |
| CEPILLO 12X8 M. RESORTE U-CONTACTO | ||||
| 160 | 30711128005 | 11.28 | 13.65 | |
| Portador de contacto | ||||
| 170 | 31428138005 | 9.89 | 11.97 | |
| ENCHUFE MALE | ||||
| 180 | 30717189002 | 1.04 | 1.26 | |
| CUBIERTA | ||||
| 190 | 31201114002 | 11.98 | 14.50 | |
| Conexión de tornillo | ||||
| 200 | 30723046019 | 32.54 | 39.37 | |
| Anillo de sellado redondo | ||||
| 205 | 40612024009 | 1.88 | 2.27 | |
| Manguera protectora | ||||
| 210 | 31414060012 | 24.88 | 30.10 | |
| Cable de conexión MX 1200/2 E EF | ||||
| 220 | 30719482012 | 7.10 | 8.59 | |
| Caja de engranajes | ||||
| 240 | 31509083002 | 158.22 | 191.45 | |
| Caja de cambios | ||||
| 245 | 31509083011 | 333.04 | 402.98 | |
| RODAMIENTO DE BOLAS OSC 18 | ||||
| 250 | 41701204010 | 5.36 | 6.49 | |
| RODAMIENTO DE BOLAS OSC 18 | ||||
| 260 | 41701017059 | 23.61 | 28.57 | |
| Arandela | ||||
| 270 | 42616004000 | 2.29 | 2.77 | |
| BARRA TOMMY | ||||
| 280 | 33403105002 | 165.88 | 200.71 | |
| MANGUITO DE SUJECIÓN 3X10 | ||||
| 290 | 40238065002 | 1.04 | 1.26 | |
| Resorte de compresión | ||||
| 300 | 30901353006 | 4.32 | 5.23 | |
| Muelle espiral | ||||
| 305 | 30901353015 | 11.48 | 13.89 | |
| MANGUITO EXCÉNTRICO | ||||
| 310 | 30503145006 | 3.34 | 4.04 | |
| Disco | ||||
| 320 | 32408389000 | 1.25 | 1.51 | |
| Arandela | ||||
| 330 | 42616075007 | 1.04 | 1.26 | |
| Pelota | ||||
| 340 | 41708025004 | 1.04 | 1.26 | |
| Muelle | ||||
| 350 | 30907063003 | 6.19 | 7.49 | |
| Arandela | ||||
| 360 | 30232045005 | 35.73 | 43.23 | |
| Anillo de retención V | ||||
| 380 | 42643009005 | 3.34 | 4.04 | |
| Anillo de bloqueo | ||||
| 390 | 42616014009 | 1.04 | 1.26 | |
| Chaveta de Woodruff G12s2/g13sd | ||||
| 400 | 40221028001 | 2.29 | 2.77 | |
| ENGANCHE | ||||
| 410 | 33663166008 | 37.64 | 45.54 | |
| Anillo de bloqueo | ||||
| 420 | 42616009003 | 1.04 | 1.26 | |
| Rueda de Engranaje | ||||
| 430 | 33763060007 | 35.09 | 42.46 | |
| Rueda de Engranaje | ||||
| 440 | 33657159006 | 45.94 | 55.59 | |
| Arandela de seguridad M4 | ||||
| 450 | 42443003043 | 1.04 | 1.26 | |
| TORNILLO M4X35 | ||||
| 460 | 43035009044 | 1.04 | 1.26 | |
| TORNILLO M4X35 | ||||
| 470 | 43035096049 | 1.04 | 1.26 | |
| Pieza de presión | ||||
| 480 | 30240240007 | 14.04 | 16.99 | |
| Palanca KA 65 | ||||
| 490 | 32170017007 | 22.65 | 27.41 | |
| Pezone de manguera | ||||
| 500 | 41138025006 | 6.82 | 8.25 | |
| COJINETE | ||||
| 602 | 31602081001 | 4.94 | 5.98 | |
| MANGUITO ROSCADO | ||||
| 603 | 31602092003 | 4.73 | 5.72 | |
| CARCASA | ||||
| 605 | 31207277020 | 460.64 | 557.37 | |
| Pieza de presión | ||||
| 610 | 33216047000 | 4.73 | 5.72 | |
| Tira guía | ||||
| 620 | 33218117000 | 42.75 | 51.73 | |
| TORNILLO M4X35 | ||||
| 630 | 43035076041 | 1.04 | 1.26 | |
| Resorte de Hoja | ||||
| 640 | 30904041001 | 5.57 | 6.74 | |
| TORNILLO M4X35 | ||||
| 650 | 43041026994 | 1.04 | 1.26 | |
| Perno roscado auto-fijación | ||||
| 660 | 43058008051 | 2.51 | 3.04 | |
| Arandela de seguridad M5 | ||||
| 670 | 42443004057 | 1.04 | 1.26 | |
| Rack de engranaje | ||||
| 680 | 33812007004 | 91.87 | 111.16 | |
| Tornillo de cabeza cilíndrica | ||||
| 690 | 43035017057 | 1.04 | 1.26 | |
| VARILLA | ||||
| 700 | 33218116006 | 85.49 | 103.44 | |
| TORNILLO M4X35 | ||||
| 710 | 43013048041 | 1.25 | 1.51 | |
| Eje de transmisión | ||||
| 740 | 33713068008 | 136.53 | 165.20 | |
| Escala | ||||
| 750 | 33213008009 | 7.66 | 9.27 | |
| Manija TSC 55 | ||||
| 760 | 32119114014 | 15.63 | 18.91 | |
| Arandela | ||||
| 770 | 42401019085 | 1.04 | 1.26 | |
| Resorte de disco | ||||
| 780 | 30905055000 | 1.04 | 1.26 | |
| Tuerca hexagonal M con bloqueo | ||||
| 790 | 42019006080 | 1.04 | 1.26 | |
| Pie Magnético KBM32Q | ||||
| 800 | 33216046015 | 473.40 | 572.81 | |
| Tornillo de cabeza cilíndrica | ||||
| 810 | 43035021050 | 1.04 | 1.26 | |
| CABLE CON ENCHUFE | ||||
| 820 | 30707423010 | 25.20 | 30.49 | |
| Manguera protectora | ||||
| 830 | 31413007007 | 2.51 | 3.04 | |
| Articulación giratoria | ||||
| 840 | 30723044003 | 22.97 | 27.79 | |
| Sello LEX 3 | ||||
| 845 | 30610034008 | 1.67 | 2.02 | |
| TIRA | ||||
| 850 | 32422317010 | 13.72 | 16.60 | |
| TIRA | ||||
| 860 | 31408086007 | 5.99 | 7.25 | |
| Tuerca | ||||
| 870 | 30723043005 | 2.71 | 3.28 | |
| Cable de conexión MX 1200/2 E EF | ||||
| 875 | 30719647010 | 3.34 | 4.04 | |
| Interruptor | ||||
| 880 | 30701281000 | 29.67 | 35.90 | |
| Resorte de abrazadera | ||||
| 885 | 31412063000 | 3.48 | 4.21 | |
| Kit de reparación/conversión del interruptor | ||||
| 888 | 30701281010 | 37.00 | 44.77 | |
| Electrónica | ||||
| 890 | 30762243998 | 200.33 | 242.40 | |
| Cable de conexión MX 1200/2 E EF | ||||
| 900 | 30719481019 | 6.82 | 8.25 | |
| Ya no disponible, sin reemplazo | ||||
| 910 | 30701242009 | |||
| Tapa de polvo | ||||
| 911 | 32816059009 | 2.93 | 3.55 | |
| Arandela dentada | ||||
| 920 | 42439013046 | 1.04 | 1.26 | |
| Disco | ||||
| 930 | 42404005048 | 1.04 | 1.26 | |
| Anillo de sellado redondo | ||||
| 940 | 40612024009 | 1.88 | 2.27 | |
| Cubierta (2 piezas. Debido a la modificación) | ||||
| 950 | 32429135010 | 68.90 | 83.37 | |
| Conexión de tornillo | ||||
| 960 | 30723046019 | 32.54 | 39.37 | |
| Tuerca KBM32Q | ||||
| 970 | 30723045007 | 1.46 | 1.77 | |
| TORNILLO CON AMPLIACIÓN | ||||
| 980 | 43064023045 | 0.90 | 1.09 | |
| PEGATINA EN PAPEL, AUTOADHESIVA | ||||
| 1000 | 32217406002 | 1.25 | 1.51 | |
| No hay información disponible, no se puede pedir | ||||
| 5000 | 33901126020 | |||
| No hay información disponible, no se puede pedir | ||||
| 5010 | 30240247002 | |||
| No hay información disponible, no se puede pedir | ||||
| 5020 | 32132022007 | |||
| No hay información disponible, no se puede pedir | ||||
| 5030 | 31414054008 | |||
| No hay información disponible, no se puede pedir | ||||
| 5040 | 64201001000 | |||
| No hay información disponible, no se puede pedir | ||||
| 5050 | 32174008007 | |||
| No hay información disponible, no se puede pedir | ||||
| 5060 | 63203050014 | |||
| No hay información disponible, no se puede pedir | ||||
| 5065 | 62914002005 | |||
| No hay información disponible, no se puede pedir | ||||
| 5070 | 63901020006 | |||
| No hay información disponible, no se puede pedir | ||||
| 5080 | 63134998310 | |||
| PASADOR DE CENTRADO 125MM | ||||
| 5090 | 63134998330 | 21.37 | 25.86 | |
| Tornillo de lente | ||||
| 5100 | 43041008045 | 1.04 | 1.26 | |
| No hay información disponible, no se puede pedir | ||||
| 5110 | 63901037010 | |||
| Abrazadera de alambre para maletín metálico | ||||
| 5210 | 30232050000 | 8.63 | 10.44 | |
| Ya no disponible, sin reemplazo | ||||
| 6000 | 32160003182 | |||
| Veiligheidsvoorschrift | ||||
| 9020 | 34130054061 | 1.86 | 2.25 | |