Aquí encontrará todas las piezas y dibujos técnicos disponibles de 'Festool 492505 ( BASIS6A )'. Desde aquí podrá pedir todas las piezas deseadas directamente. Para muchas piezas de repuesto, es necesario pasar un pedido al fabricante. Dependiendo de la marca, el plazo de entrega puede variar entre una y cuatro semanas. Toda la información que tenemos está en nuestro sitio web. No podremos aconsejarle sobre lo que necesita hasta que entregue la máquina para su reparación. Tenga en cuenta lo siguiente a la hora de cursar su pedido:
Debido a una reorganización dentro de Festool, los pedidos de Festool no se entregarán hasta la segunda mitad de enero de 2026.
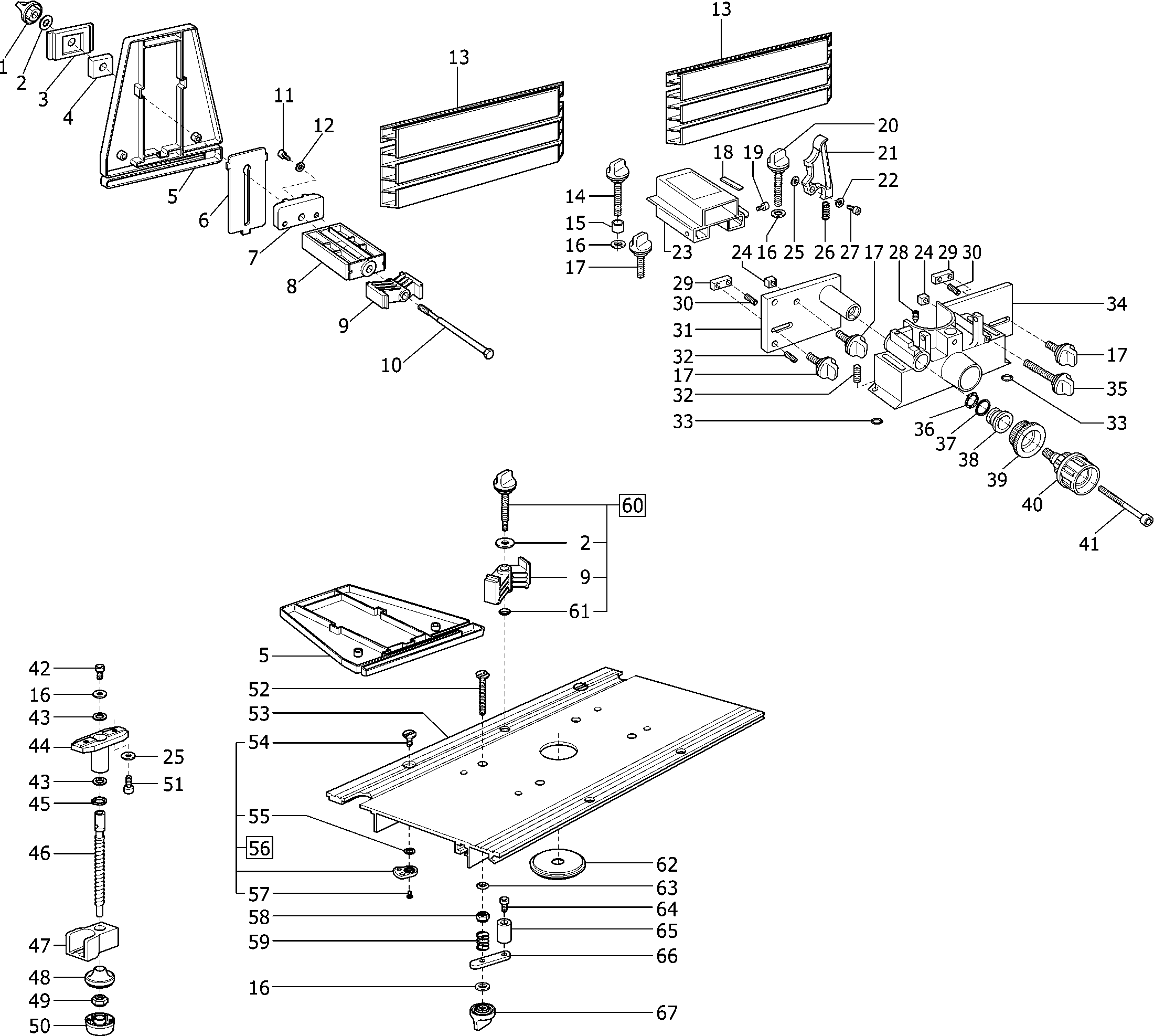
Dibujo técnico de los/las Festool 492505 ( BASIS6A )
Lista de las piezas de repuesto de Festool 492505 ( BASIS6A )
| Pos. | Descripción | Precio con el IVA excluido | Precio con el IVA incluido | |
| Los precios mostrados incluyen el IVA | ||||
| No hay información disponible, no se puede pedir | ||||
| 1 | 442677 | |||
| Disco DIN 125-B-8,4-140 HV | ||||
| 2 | 219049 | 1.39 | 1.68 | |
| Pieza de cabeza OSC 18 ET-BG | ||||
| 3 | 457150 | 5.15 | 6.23 | |
| GLANDULA | ||||
| 4 | 443148 | 1.72 | 2.08 | |
| GLANDULA | ||||
| 5 | 442771 | 26.86 | 32.50 | |
| Cubierta TURBO II | ||||
| 6 | 457859 | 11.74 | 14.21 | |
| TIRA | ||||
| 7 | 457151 | 5.15 | 6.23 | |
| Pieza de deslizamiento FSK 670 | ||||
| 8 | 442772 | 5.81 | 7.03 | |
| Soporte de parada | ||||
| 9 | 442754 | 4.30 | 5.20 | |
| TORNILLO M4X35 | ||||
| 10 | 442907 | 10.56 | 12.78 | |
| Tornillo de cabeza ovalada 4,0 x 12 mm | ||||
| 11 | 219071 | 1.39 | 1.68 | |
| Disco DIN 125-A-4,3-140 HV | ||||
| 12 | 200576 | 1.39 | 1.68 | |
| VARILLA | ||||
| 13 | 463100 | 50.70 | 61.35 | |
| Perilla Giratoria M6 X 95 | ||||
| 14 | 485666 | 8.05 | 9.74 | |
| Casquillo Espaciador | ||||
| 15 | 442202 | 4.49 | 5.43 | |
| Disco DIN 125-B-6,4-140 HV | ||||
| 16 | 228546 | 1.39 | 1.68 | |
| Perilla de rotación CS 70 | ||||
| 17 | 10734068 | 2.18 | 2.64 | |
| Pieza de apoyo | ||||
| 18 | 436021 | 1.39 | 1.68 | |
| Tornillo de hombro DIN 927-M5x8-5.8 | ||||
| 19 | 228765 | 1.39 | 1.68 | |
| Perilla Giratoria M6 X 70 | ||||
| 20 | 485665 | 7.73 | 9.35 | |
| Captura KS 60 E | ||||
| 21 | 442777 | 1.39 | 1.68 | |
| Disco DIN 125-A-4,3-140 HV | ||||
| 22 | 228542 | 1.39 | 1.68 | |
| CUBIERTA | ||||
| 23 | 486331 | 78.17 | 94.59 | |
| Tuerca | ||||
| 24 | 442207 | 3.50 | 4.24 | |
| Disco DIN 125-B-6,4-140 HV | ||||
| 25 | 200578 | 1.39 | 1.68 | |
| Resorte de compresión | ||||
| 26 | 216897 | 1.78 | 2.15 | |
| Tornillo de cabeza ovalada M4 x 8 | ||||
| 27 | 203806 | 1.39 | 1.68 | |
| Perno roscado M6 x 8 | ||||
| 28 | 772439 | 1.39 | 1.68 | |
| Tuerca | ||||
| 29 | 466335 | 7.32 | 8.86 | |
| Perno roscado M6 x 12 | ||||
| 30 | 442597 | 1.39 | 1.68 | |
| TIRA | ||||
| 31 | 10012647 | 60.86 | 73.64 | |
| Pasador Roscado M8 X 10 | ||||
| 32 | 400618 | 1.39 | 1.68 | |
| Anillo O 5x2-NBR-70SHORE | ||||
| 33 | 204551 | 1.39 | 1.68 | |
| Caja de carcasa DUO 110 - Conjunto | ||||
| 34 | 486654 | 138.06 | 167.05 | |
| Perilla de giro M6 x 111 | ||||
| 35 | 485667 | 7.26 | 8.78 | |
| Anillo de bloqueo | ||||
| 36 | 200352 | 1.39 | 1.68 | |
| Anillo de ajuste DIN 988-20x28x1,5 | ||||
| 37 | 228760 | 1.39 | 1.68 | |
| Casquillo LEX 3 | ||||
| 38 | 442204 | 20.21 | 24.45 | |
| Anillo de escala EHL 65 EQ | ||||
| 39 | 442203 | 5.74 | 6.95 | |
| Rueda de ajuste KS 60 | ||||
| 40 | 10465965 | 82.04 | 99.27 | |
| Tornillo de cabeza cilindrica DIN 912-M6x90-8.8 | ||||
| 41 | 228764 | 1.39 | 1.68 | |
| Tornillo de cabeza cilíndrica M6 x 16 | ||||
| 42 | 200685 | 1.39 | 1.68 | |
| Disco | ||||
| 43 | 437082 | 1.85 | 2.24 | |
| No hay información disponible, no se puede pedir | ||||
| 44 | 444079 | |||
| Anillo de bloqueo | ||||
| 45 | 200621 | 1.39 | 1.68 | |
| Husillo CSP 132 E vollst. | ||||
| 46 | 465868 | 40.90 | 49.49 | |
| Impulsor | ||||
| 47 | 437388 | 2.51 | 3.04 | |
| Parte del mango M8 | ||||
| 48 | 436191 | 5.88 | 7.11 | |
| Tuerca hexagonal M8 | ||||
| 49 | 200719 | 1.39 | 1.68 | |
| BOTÓN | ||||
| 50 | 436189 | 4.75 | 5.75 | |
| Tornillo de cabeza cilíndrica M6 x 14 | ||||
| 51 | 228577 | 1.39 | 1.68 | |
| Tornillo M6 X 45 | ||||
| 52 | 400620 | 1.39 | 1.68 | |
| No hay información disponible, no se puede pedir | ||||
| 53 | 493892 | |||
| Tuerca de cuello | ||||
| 54 | 447731 | 12.22 | 14.79 | |
| Arandela de resorte | ||||
| 55 | 223862 | 1.39 | 1.68 | |
| Bloqueo de giro | ||||
| 56 | 488200 | 45.74 | 55.35 | |
| Tornillo avellanado M4 x 6 | ||||
| 57 | 400346 | 1.39 | 1.68 | |
| Tuerca hexagonal DIN 439-M6 | ||||
| 58 | 200601 | 1.39 | 1.68 | |
| Resorte de compresión | ||||
| 59 | 457063 | 2.04 | 2.47 | |
| Ya no disponible, sin reemplazo | ||||
| 60 | 486707 | |||
| Anillo de bloqueo | ||||
| 61 | 206666 | 1.39 | 1.68 | |
| Casquillo Ø25 De 2000 | ||||
| 62 | 455733 | 18.51 | 22.40 | |
| Casquillo Ø66 Of1400 | ||||
| 62 | 466075 | 16.82 | 20.35 | |
| Disco DIN 125-B-6,4-140 HV | ||||
| 63 | 200578 | 1.39 | 1.68 | |
| No hay información disponible, no se puede pedir | ||||
| 64 | xxx | |||
| Tornillo | ||||
| 65 | 465881 | 3.96 | 4.79 | |
| No hay información disponible, no se puede pedir | ||||
| 66 | xxx | |||
| Perilla giratoria M6 | ||||
| 67 | 483350 | 6.67 | 8.07 | |