Aquí encontrará todas las piezas y dibujos técnicos disponibles de 'Festool 10011341 ( GM145 )'. Desde aquí podrá pedir todas las piezas deseadas directamente. Para muchas piezas de repuesto, es necesario pasar un pedido al fabricante. Dependiendo de la marca, el plazo de entrega puede variar entre una y cuatro semanas. Toda la información que tenemos está en nuestro sitio web. No podremos aconsejarle sobre lo que necesita hasta que entregue la máquina para su reparación. Tenga en cuenta lo siguiente a la hora de cursar su pedido:
Debido a una reorganización dentro de Festool, los pedidos de Festool no se entregarán hasta la segunda mitad de enero de 2026.
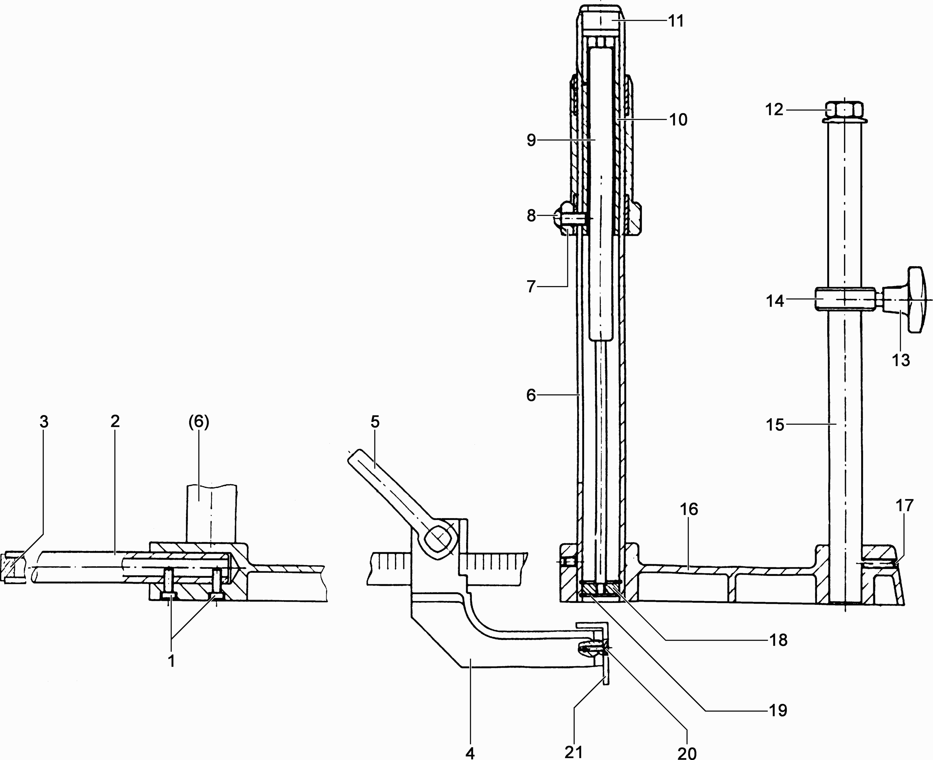
Dibujo técnico de los/las Festool 10011341 ( GM145 )
Lista de las piezas de repuesto de Festool 10011341 ( GM145 )
| Pos. | Descripción | Precio con el IVA excluido | Precio con el IVA incluido | |
| Los precios mostrados incluyen el IVA | ||||
| Tornillo de cilindro | ||||
| 1 | 830226 | 1.58 | 1.91 | |
| Barra de golpe | ||||
| 2 | 633798 | 89.78 | 108.63 | |
| No hay información disponible, no se puede pedir | ||||
| 3 | 633828 | |||
| No hay información disponible, no se puede pedir | ||||
| 4 | 633747 | |||
| Clip M10 | ||||
| 5 | 633720 | 29.52 | 35.72 | |
| Tubo CS 50 EBG | ||||
| 6 | 633704 | 133.34 | 161.34 | |
| Soporte de motor TSC 55 | ||||
| 7 | 633771 | 89.78 | 108.63 | |
| Tornillo Con Cabeza de Lente M8 x 16 | ||||
| 8 | 633917 | 2.71 | 3.28 | |
| Ya no disponible, sin reemplazo | ||||
| 9 | 633836 | |||
| Casquillo Guía | ||||
| 10 | 633925 | 52.76 | 63.84 | |
| No hay información disponible, no se puede pedir | ||||
| 11 | 633801 | |||
| Perno de cabeza hexagonal sc DIN933 M5x12 8.8 A3F | ||||
| 12 | 631973 | 13.92 | 16.84 | |
| No hay información disponible, no se puede pedir | ||||
| 13 | 664049 | |||
| Anillo de Ajuste | ||||
| 14 | 633712 | 28.80 | 34.85 | |
| VARILLA DE GUIADO | ||||
| 15 | 633844 | 81.19 | 98.24 | |
| No hay información disponible, no se puede pedir | ||||
| 16 | 633690 | |||
| Pasador Roscado | ||||
| 17 | 832653 | 1.58 | 1.91 | |
| No hay información disponible, no se puede pedir | ||||
| 18 | 633860 | |||
| Anillo de bloqueo | ||||
| 19 | 433314 | 2.18 | 2.64 | |
| Tornillo avellanado M5 x 12 | ||||
| 20 | 414131 | 5.21 | 6.30 | |
| No hay información disponible, no se puede pedir | ||||
| 21 | 633739 | |||