Aquí encontrará todas las piezas y dibujos técnicos disponibles de 'Hikoki DW25EF'. Desde aquí podrá pedir todas las piezas deseadas directamente. Para muchas piezas de repuesto, es necesario pasar un pedido al fabricante. Dependiendo de la marca, el plazo de entrega puede variar entre una y cuatro semanas. Toda la información que tenemos está en nuestro sitio web. No podremos aconsejarle sobre lo que necesita hasta que entregue la máquina para su reparación. Tenga en cuenta lo siguiente a la hora de cursar su pedido:
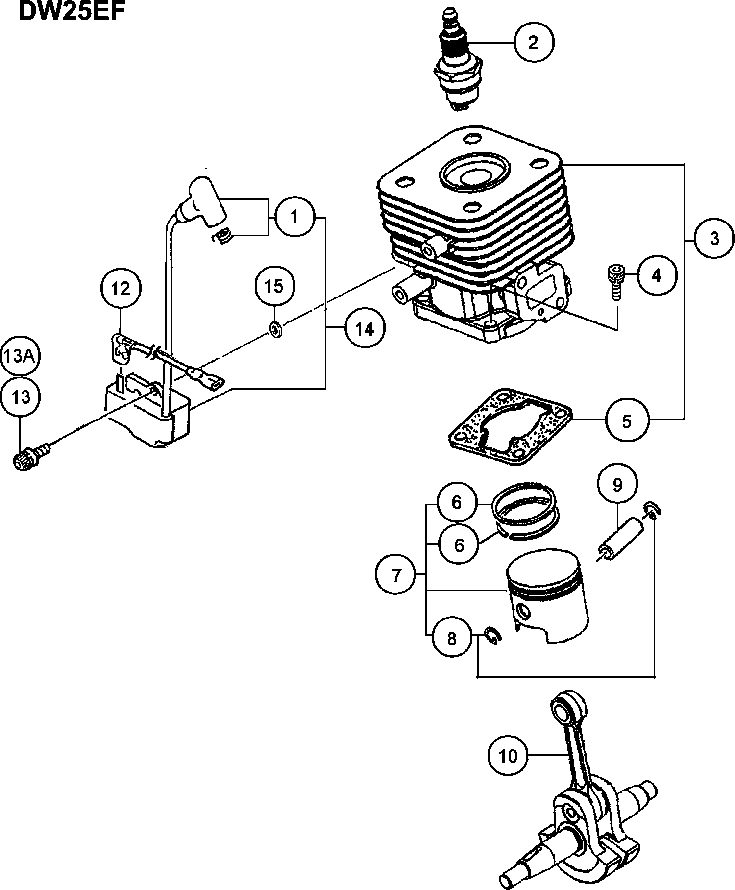
Dibujo técnico de los/las Hikoki DW25EF
Lista de las piezas de repuesto de Hikoki DW25EF
| Pos. | Descripción | Precio con el IVA excluido | Precio con el IVA incluido | |
| Los precios mostrados incluyen el IVA | ||||
| Ensamblaje de tapa de enchufe (antiguo 157-01680-9 | ||||
| 1 | 6684894 | 8.58 | 10.38 | |
| BUJÍA BMR6A | ||||
| 2 | 6699315 | 13.35 | 16.15 | |
| Ensamble de bujía Bpmr6a (antiguo 6685086) | ||||
| 2 | 6699319 | 8.91 | 10.78 | |
| Juego de cilindros (antiguo 001-07355-90) | ||||
| 3 | 6685493 | 54.30 | 65.70 | |
| Bolt M5x18 / s hexagonal (antiguo 994-61050-184) | ||||
| 4 | 6684586 | 2.15 | 2.60 | |
| Junta de cilindro T=1.0 (antiguo 017-07355-20) | ||||
| 5 | 6685750 | 2.31 | 2.80 | |
| Junta del cilindro (antiguo 017-07350-20) | ||||
| 5 | 6684896 | 2.15 | 2.60 | |
| Anillo de pistón (antiguo 041-01700-20) | ||||
| 6 | 6686121 | 4.45 | 5.38 | |
| Conjunto de pistones (antiguo 030-07350-90) | ||||
| 7 | 6685902 | 20.11 | 24.34 | |
| Circlip del pasador del pistón (antiguo 039-00601- | ||||
| 8 | 6684590 | 2.15 | 2.60 | |
| Pasador de pistón (antiguo 037-07045-20) | ||||
| 9 | 6684591 | 4.29 | 5.19 | |
| Cigüeñal comp. (antiguo 046-07350-82) | ||||
| 10 | 6686219 | 72.30 | 87.48 | |
| Parada de cable B 190m (antiguo 178-01680-80) | ||||
| 12 | 6687836 | 2.31 | 2.80 | |
| Tornillo con agujero hexagonal M4x18/ws (antiguo 9 | ||||
| 13 | 6684599 | 2.15 | 2.60 | |
| Tornillo de alta tensión 4x18ws (antiguo 994-16040 | ||||
| 13A | 6695407 | 1.15 | 1.39 | |
| Bobina (antiguo 167-21015-90) | ||||
| 14 | 6687689 | 42.20 | 51.06 | |
| Bobina (antiguo 167-21013-90 & 6687685) | ||||
| 14 | 6687686 | 24.20 | 29.28 | |
| Arandela (antiguo 182-0186a-20) | ||||
| 15 | 6684600 | 2.15 | 2.60 | |
| Calzo de eje de engranaje 0.20 (antiguo 330-00200- | ||||
| 21 | 6684604 | 2.15 | 2.60 | |
| Calzo de eje de engranaje 0.30 (antiguo 330-00200- | ||||
| 21 | 6684605 | 2.15 | 2.60 | |
| Rotór de Magneto Combinado Fw- (antiguo 155-21014- | ||||
| 22 | 6687385 | 22.24 | 26.91 | |
| Roto Magneto Comp. | ||||
| 22 | 6687384 | 16.19 | 19.59 | |
| Tuerca M8 (antiguo 991-01080-011/327325/332299/726 | ||||
| 23 | 6684612 | 2.15 | 2.60 | |
| Arandela M8 (antiguo 992-01080-011) | ||||
| 24 | 6684611 | 2.15 | 2.60 | |
| Caja de cigüeñal (antiguo 072-03045-94) | ||||
| 25 | 6684905 | 54.45 | 65.88 | |
| Sello de aceite | ||||
| 26 | 6684607 | 4.29 | 5.19 | |
| Rodamiento de bolas 6001 C3 | ||||
| 27 | 6684608 | 3.80 | 4.60 | |
| Junta de cárter (Antiguo 090-07350-22) | ||||
| 28 | 6684904 | 2.15 | 2.60 | |
| Tornillo hexagonal M5x16/s (antiguo 994-61050-164) | ||||
| 29 | 6684903 | 2.15 | 2.60 | |
| Junta del colector de admisión | ||||
| 41 | 6689895 | 1.15 | 1.39 | |
| Juego de Aislantes (viejo 404-07020-91) | ||||
| 42 | 6689972 | 6.28 | 7.59 | |
| Tornillo de orificio hexagonal 5x25/ws (antiguo 99 | ||||
| 43 | 6684617 | 2.15 | 2.60 | |
| Tornillo hexagonal de 5 x 25ws (antiguo 994-64050- | ||||
| 43 | 6695515 | 1.15 | 1.39 | |
| Junta del carburador (antiguo 402-0656a-20) | ||||
| 44 | 6684616 | 2.15 | 2.60 | |
| Set carburador Wyj-463 (antiguo 455-0740a-90) | ||||
| 45 | 6690522 | 80.31 | 97.18 | |
| Cuerpo de limpiador completo (antiguo 423-0652n-80 | ||||
| 46 | 6690120 | 4.45 | 5.38 | |
| Esponja de limpieza | ||||
| 47 | 6690365 | 1.15 | 1.39 | |
| Cubierta del filtro de aire | ||||
| 48 | 6690421 | 13.86 | 16.77 | |
| Cubierta del filtro de aire | ||||
| 48 | 6690402 | 10.23 | 12.37 | |
| Comp. de perno de fijación de la cubierta | ||||
| 49 | 6698730 | 3.15 | 3.81 | |
| Tornillo M5x57/s (antiguo 994-14050-571/790190) | ||||
| 50 | 6695353 | 1.15 | 1.39 | |
| Tornillo 5x55 (antiguo 990-11050-552) | ||||
| 50 | 6694914 | 1.15 | 1.39 | |
| Arandela 5 (antiguo 992-00050-011) | ||||
| 51 | 6684864 | 2.15 | 2.60 | |
| Placa de estrangulamiento 2.0 (antiguos 528-0652n- | ||||
| 52 | 6691276 | 1.15 | 1.39 | |
| Palanca de estrangulación 1.5 (antiguo 528-07355-2 | ||||
| 52 | 6691281 | 1.15 | 1.39 | |
| Palanca de control del estrangulador (antiguo 523- | ||||
| 53 | 6691239 | 1.15 | 1.39 | |
| Tanque Blanco (antiguo 591-07350-22/6691519/669160 | ||||
| 54 | 6691602 | 15.13 | 18.30 | |
| TANQUE | ||||
| 54A | 6601167 | 8.91 | 10.78 | |
| Collar 5.8 (antiguo 659-00801-20) | ||||
| 55 | 6692244 | 1.15 | 1.39 | |
| Goma de retorno hasta 7.2014 (antigua 6684627) | ||||
| 56 | 6697846 | 1.04 | 1.26 | |
| Ya no disponible, sin reemplazo | ||||
| 56A | 6600358 | |||
| Tubo de combustible 3x5x65 (antiguo 700-03005-06) | ||||
| 57 | 6684626 | 2.15 | 2.60 | |
| No hay información disponible, no se puede pedir | ||||
| 58 | 6684620 | |||
| Clip D6 (antiguo 680-00070-20) | ||||
| 59 | 6685198 | 1.15 | 1.39 | |
| Tubo de combustible Ass'y (antiguo 223-0097a-90) | ||||
| 60 | 6684618 | 4.29 | 5.19 | |
| Tubo de Combustible | ||||
| 60A | 6601181 | 1.04 | 1.26 | |
| No hay información disponible, no se puede pedir | ||||
| 62 | 6685049 | |||
| No hay información disponible, no se puede pedir | ||||
| 63 | 6684625 | |||
| Perno de agujero hexagonal 5x16/ps (antiguo 994-63 | ||||
| 64 | 6695504 | 1.15 | 1.39 | |
| Perno (con brida) | ||||
| 64A | 6696574 | 1.05 | 1.27 | |
| Tornillo autoperforante 4x14 P (viejo 993-49040-14 | ||||
| 65 | 6695280 | 1.15 | 1.39 | |
| Arandela | ||||
| 66 | 6685070 | 1.15 | 1.39 | |
| Arandela (antiguo 992-10050-012) | ||||
| 67 | 6684662 | 2.15 | 2.60 | |
| Junta del carburador (antiguo 402-0602K-21/6689836 | ||||
| 68 | 6684615 | 2.15 | 2.60 | |
| Set de carburador Wyj-431 Walbro (antiguo 455-0735 | ||||
| 69 | 6690519 | 86.36 | 104.50 | |
| Arandela | ||||
| 70 | 6689681 | 1.15 | 1.39 | |
| Perno con agujero hexagonal 5x20/ps (antiguo 994-6 | ||||
| 71 | 6684634 | 2.15 | 2.60 | |
| Perno (con brida) | ||||
| 71A | 6696574 | 1.05 | 1.27 | |
| Perno de agujero hexagonal 5x16/ps (antiguo 994-63 | ||||
| 72 | 6695504 | 1.15 | 1.39 | |
| Perno (con brida) | ||||
| 72A | 6696574 | 1.05 | 1.27 | |
| Tapa del Cilindro (anterior 016-07350-20) | ||||
| 91 | 6685690 | 5.28 | 6.38 | |
| Tapa del Cilindro Negro (anterior 016-07500-20) | ||||
| 91 | 6685693 | 4.79 | 5.79 | |
| Perno de agujero hexagonal 5x16/ps (antiguo 994-63 | ||||
| 92 | 6695504 | 1.15 | 1.39 | |
| Tornillo de orificio hexagonal M6x55 (antiguo 990- | ||||
| 93 | 6684638 | 2.15 | 2.60 | |
| Tornillo Hex. Orificio 6x65 (antiguo 990-51060-653 | ||||
| 93 | 6695067 | 1.15 | 1.39 | |
| Arandela | ||||
| 94 | 6684639 | 2.15 | 2.60 | |
| No hay información disponible, no se puede pedir | ||||
| 95A | 6699602 | |||
| Protector del silenciador (antiguo 738-0740a-80) | ||||
| 96 | 6692817 | 20.11 | 24.34 | |
| Protector del silenciador Oro (antiguo 738-0735a-2 | ||||
| 96 | 6692815 | 5.78 | 6.99 | |
| Tornillo 4x18/ps (antiguo 994-15040-182) | ||||
| 97A | 6695375 | 1.15 | 1.39 | |
| Deflector (antiguo 132-0735a-20) Nuevo | ||||
| 98 | 6687214 | 3.30 | 3.99 | |
| Guía de aire | ||||
| 98 | 6687216 | 3.30 | 3.99 | |
| Arandela | ||||
| 99 | 6684642 | 2.15 | 2.60 | |
| No hay información disponible, no se puede pedir | ||||
| 99A | 6697619 | |||
| Zapato de embrague | ||||
| 100 | 6684643 | 11.55 | 13.98 | |
| No hay información disponible, no se puede pedir | ||||
| 100A | 6697656 | |||
| Resorte de embrague (viejo 342-0630b-20) | ||||
| 101 | 6684644 | 2.15 | 2.60 | |
| Resorte de embrague | ||||
| 101A | 6697657 | 1.04 | 1.26 | |
| Placa de embrague A 0.5 (antigua 348-0630a-20/6689 | ||||
| 102 | 6684645 | 2.15 | 2.60 | |
| Placa de embrague A (antiguo 348-0602r-20) | ||||
| 102A | 6689528 | 1.15 | 1.39 | |
| Perno de paso (antiguo 357-0075t-20) | ||||
| 103 | 6684646 | 2.15 | 2.60 | |
| Perno de paso (antiguo 357-00601-20) | ||||
| 103A | 6689627 | 1.15 | 1.39 | |
| Tornillo de agujero hexagonal M5x18/ws (anterior 9 | ||||
| 104 | 6684647 | 2.15 | 2.60 | |
| Arandela | ||||
| 105 | 6684648 | 2.15 | 2.60 | |
| Conjunto de embrague | ||||
| 109 | 6697655 | 6.76 | 8.18 | |
| Bolt de agujero hexagonal 4x15/ps (antiguo 994-630 | ||||
| 110 | 6684682 | 2.15 | 2.60 | |
| Escudo térmico | ||||
| 111 | 6687265 | 4.45 | 5.38 | |
| Tornillo autorroscante 4x14 (antiguo 993-48040-142 | ||||
| 112 | 6684751 | 2.15 | 2.60 | |
| Carcasa del ventilador | ||||
| 113 | 6687038 | 16.34 | 19.77 | |
| Goma de cable principal (ancien 203-11660-20) | ||||
| 114 | 6688057 | 1.15 | 1.39 | |
| Junta de escape especial (antiguo 751-06500-20) | ||||
| 115 | 6692886 | 1.15 | 1.39 | |
| Set de Tubo de Escape (antiguo 734-0740a-90) | ||||
| 116 | 6692716 | 4.79 | 5.79 | |
| Tornillo M4x8/ws (anterior 994-36040-081) | ||||
| 117 | 6684651 | 2.15 | 2.60 | |
| Arresta chispas (antiguo 732-0740a-20) Nuevo | ||||
| 118 | 6692702 | 2.31 | 2.80 | |
| Conjunto de silenciador (antiguo 704-07365-90) nue | ||||
| 119 | 6692501 | 14.85 | 17.97 | |
| Escudo térmico | ||||
| 120 | 6687264 | 3.30 | 3.99 | |
| Junta de silenciador (antiguo 737-0165a-20) | ||||
| 121 | 6692732 | 1.15 | 1.39 | |
| No hay información disponible, no se puede pedir | ||||
| 131A | 6699995 | |||
| Cuerpo de Arrancador de Retroceso Comp. (antiguo 7 | ||||
| 132 | 6684673 | 19.06 | 23.07 | |
| Cuerda de arranque 3.5x860 (antiguo 783-0720f-20/6 | ||||
| 133 | 6684674 | 4.29 | 5.19 | |
| Resorte de retroceso (antiguo 780-06097-20/6697591 | ||||
| 134 | 6684675 | 11.55 | 13.98 | |
| Carrete de cuerda de arranque | ||||
| 135A | 6699997 | 8.41 | 10.18 | |
| Resorte de amortiguador (antiguo 758-0651h-20) | ||||
| 136 | 6684677 | 8.58 | 10.38 | |
| PLACA DE LEVA | ||||
| 137A | 6699996 | 2.55 | 3.09 | |
| Tornillo de ajuste (antiguo 839-03045-20) | ||||
| 138 | 6684679 | 2.15 | 2.60 | |
| Manija de inicio | ||||
| 139 | 6684680 | 2.15 | 2.60 | |
| Polea de arranque Ass'y (antiguo 798-0651h-90) | ||||
| 140 | 6684681 | 13.20 | 15.97 | |
| Anillo de retención D4e (antiguo 993-55040-001) | ||||
| 141 | 6685101 | 1.15 | 1.39 | |
| Muelle de trinquete de arranque (antiguo 790-06097 | ||||
| 142 | 6684684 | 4.29 | 5.19 | |
| Empuñadura de arranque (antiguo 788-0651h-20) | ||||
| 143 | 6684685 | 4.29 | 5.19 | |
| Tornillo 4x18/ps (antiguo 994-15040-182) | ||||
| 144A | 6695375 | 1.15 | 1.39 | |
| Ass'y de Placa de Leva | ||||
| 145 | 6699691 | 6.10 | 7.38 | |
| Cuerpo de bomba comp. (antiguo 575-25153-80) | ||||
| 161 | 6684879 | 62.16 | 75.22 | |
| Bomba de cebado comp. (antiguo 442-25151-80) | ||||
| 162 | 6684687 | 16.34 | 19.77 | |
| Cubierta de diafragma (antiguo 476-25151-20) | ||||
| 163 | 6684688 | 8.58 | 10.38 | |
| Cuerpo de cebado (antiguo 447-25108-20) | ||||
| 164 | 6684689 | 6.44 | 7.79 | |
| Diafragma de medición Comp. (antiguo 474-25241-80) | ||||
| 165 | 6690830 | 11.88 | 14.37 | |
| Junta de diafragma (antiguo 475-25153-20) | ||||
| 166 | 6684691 | 8.58 | 10.38 | |
| Diafragma de bomba (antiguo 576-25100-20 & 6696325 | ||||
| 167 | 6684693 | 8.58 | 10.38 | |
| Junta de bomba (antiguo 577-25292-20 & 6696321) | ||||
| 168 | 6684692 | 29.19 | 35.32 | |
| Chorro principal #38.5 (antiguo 599-200bw-38/66918 | ||||
| 169 | 6696130 | 5.78 | 6.99 | |
| Jet principal #43 (antiguo 599-2000w-43/6691847/66 | ||||
| 169 | 6691848 | 4.45 | 5.38 | |
| O-RING (antiguo 550-25100-20) | ||||
| 170 | 6684695 | 4.29 | 5.19 | |
| Anillo de parada (antiguo 489-25100-20) | ||||
| 171 | 6684696 | 2.15 | 2.60 | |
| Giratorio (antiguo 539-25120-20) | ||||
| 172 | 6684697 | 6.44 | 7.79 | |
| Tornillo de Ajuste del Acelerador (antiguo 514-251 | ||||
| 173 | 6684870 | 2.15 | 2.60 | |
| Regulador de Cable (antiguo 544-25164-20) | ||||
| 174 | 6684873 | 6.44 | 7.79 | |
| Tuerca de Bloqueo M6 (antiguo 991-01060-013) | ||||
| 175 | 6684872 | 2.15 | 2.60 | |
| Ajustador de Cable (antiguo 614-25137-20) | ||||
| 176 | 6684871 | 4.29 | 5.19 | |
| Empaquetadura del Limpiador (antiguo 431-0634c-20) | ||||
| 177 | 6684875 | 4.29 | 5.19 | |
| Tornillo de ajuste (antiguo 548-25151-20 & 6696324 | ||||
| 178 | 6684699 | 2.15 | 2.60 | |
| Arandela (antiguo 549-25165-20) | ||||
| 179 | 6684874 | 2.15 | 2.60 | |
| Pantalla de entrada (antiguo 578-25007-20) | ||||
| 180 | 6684700 | 4.29 | 5.19 | |
| Caja de engranajes A Comp. (antiguo 002-32182-80) | ||||
| 201 | 6685578 | 28.14 | 34.05 | |
| Ya no disponible, sin reemplazo | ||||
| 202 | 6685593 | |||
| Caja de embrague Comp. (antiguo 226-71010-80) | ||||
| 203 | 6688210 | 19.51 | 23.61 | |
| Engranaje 2 (antiguo 012-32191-20) | ||||
| 204 | 6685656 | 28.44 | 34.41 | |
| No hay información disponible, no se puede pedir | ||||
| 205 | 6685702 | |||
| Chaveta de Wood-ruff 3x10x3.7 (antigua 068-00300-2 | ||||
| 206 | 6686454 | 1.15 | 1.39 | |
| Rodamiento de bolas 6001z | ||||
| 207 | 6695532 | 6.60 | 7.99 | |
| No hay información disponible, no se puede pedir | ||||
| 208 | 6695534 | |||
| Anillo de parada C 11, exterior (antiguo 993-50011 | ||||
| 209 | 6695282 | 1.15 | 1.39 | |
| Engranaje 4 (antiguo 018-32192-20) | ||||
| 210 | 6685788 | 50.21 | 60.76 | |
| Rodamiento de bolas #7202b | ||||
| 211 | 6695587 | 14.21 | 17.20 | |
| Arandela C 5.0 (antiguo 040-32120-20) | ||||
| 212 | 6686065 | 3.30 | 3.99 | |
| Rodamiento de bolas #6202z | ||||
| 213 | 6695559 | 6.44 | 7.79 | |
| Arandela | ||||
| 214 | 6695206 | 1.15 | 1.39 | |
| Anillo de tope C-35, interno (antiguo 993-51035-00 | ||||
| 215 | 6695296 | 1.15 | 1.39 | |
| Chaveta Wood-ruff 3x13x5 (antiguo 068-01006-20) | ||||
| 216 | 6686455 | 1.15 | 1.39 | |
| Eje de transmisión (antiguo 022-32183-20) | ||||
| 217 | 6685824 | 104.51 | 126.46 | |
| Tornillo 5x18/s (antiguo 994-14050-181) | ||||
| 218 | 6695339 | 1.15 | 1.39 | |
| Anillo de parada C-13, exterior (antiguo 993-50013 | ||||
| 219 | 6695283 | 1.15 | 1.39 | |
| Palanca de bloqueo Comp. (antiguo 405-32182-81) | ||||
| 220 | 6689992 | 8.41 | 10.18 | |
| Resorte de palanca de bloqueo (antiguo 406-32182-2 | ||||
| 221 | 6689998 | 4.45 | 5.38 | |
| Arandela | ||||
| 222 | 6687942 | 1.15 | 1.39 | |
| Arandela | ||||
| 223 | 6685103 | 1.15 | 1.39 | |
| Perno de paso (antiguo 793-10200-20) | ||||
| 224 | 6693366 | 1.15 | 1.39 | |
| Tornillo Plus 6x30 (antiguo 990-23060-301) | ||||
| 225 | 6695022 | 1.15 | 1.39 | |
| Arandela | ||||
| 226 | 6695219 | 1.15 | 1.39 | |
| TEATRO DE GRASA COMP. (VIEJO 300-32250-80) | ||||
| 227 | 6688643 | 1.15 | 1.39 | |
| No hay información disponible, no se puede pedir | ||||
| 251 | 6685576 | |||
| Ya no disponible, sin reemplazo | ||||
| 252 | 6685593 | |||
| Ya no disponible, sin reemplazo | ||||
| 253 | 6686684 | |||
| Resorte de la guía de cambio (antiguo 106-32141-20 | ||||
| 254 | 6686837 | 1.15 | 1.39 | |
| Palanca de cambio (antiguo 108-32141-20) | ||||
| 255 | 6686862 | 3.30 | 3.99 | |
| TEATRO DE GRASA COMP. (VIEJO 300-32250-80) | ||||
| 256 | 6688643 | 1.15 | 1.39 | |
| Bola de acero (antiguo 673-35600-20) | ||||
| 257 | 6692271 | 1.15 | 1.39 | |
| Tornillo de hexágono hueco 4x8 (antiguo 990-51040- | ||||
| 258 | 6695034 | 1.15 | 1.39 | |
| Arandela | ||||
| 259 | 6685070 | 1.15 | 1.39 | |
| No hay información disponible, no se puede pedir | ||||
| 261 | 6695591 | |||
| Engranaje 4 (antiguo 018-32192-20) | ||||
| 262 | 6685788 | 50.21 | 60.76 | |
| Rodamiento de bolas #7202b | ||||
| 263 | 6695587 | 14.21 | 17.20 | |
| Arandela C 5.0 (antiguo 040-32120-20) | ||||
| 264 | 6686065 | 3.30 | 3.99 | |
| Rodamiento de bolas #6202z | ||||
| 265 | 6695559 | 6.44 | 7.79 | |
| Arandela | ||||
| 266 | 6695206 | 1.15 | 1.39 | |
| Anillo de tope C-35, interno (antiguo 993-51035-00 | ||||
| 267 | 6695296 | 1.15 | 1.39 | |
| Chaveta Wood-ruff 3x13x5 (antiguo 068-01006-20) | ||||
| 268 | 6686455 | 1.15 | 1.39 | |
| Eje de transmisión (antiguo 022-32183-20) | ||||
| 269 | 6685824 | 104.51 | 126.46 | |
| Tornillo 5x18/s (antiguo 994-14050-181) | ||||
| 270 | 6695339 | 1.15 | 1.39 | |
| No hay información disponible, no se puede pedir | ||||
| 271 | 6686378 | |||
| No hay información disponible, no se puede pedir | ||||
| 272 | 6687314 | |||
| Anillo de tope 20, Interno (antiguo 993-57200-002) | ||||
| 273 | 6695316 | 1.15 | 1.39 | |
| No hay información disponible, no se puede pedir | ||||
| 274 | 6695522 | |||
| Arandela de resorte | ||||
| 275A | 942827 | 1.04 | 1.26 | |
| Arandela | ||||
| 276 | 6687320 | 1.15 | 1.39 | |
| Engranaje Inactivo (antiguo 059-32141-20) | ||||
| 277 | 6686373 | 64.28 | 77.77 | |
| No hay información disponible, no se puede pedir | ||||
| 278 | 6695591 | |||
| Eje inactivo (antiguo 058-32141-20) | ||||
| 279 | 6686365 | 44.31 | 53.62 | |
| No hay información disponible, no se puede pedir | ||||
| 280 | 6686423 | |||
| Anillo de parada C-24.inner (antiguo 993-51024-002 | ||||
| 281 | 6684732 | 2.15 | 2.60 | |
| Rodamiento de bolas 609z ST | ||||
| 282 | 6684735 | 8.58 | 10.38 | |
| Arandela | ||||
| 283 | 6687320 | 1.15 | 1.39 | |
| No hay información disponible, no se puede pedir | ||||
| 284 | 6686411 | |||
| No hay información disponible, no se puede pedir | ||||
| 285 | 6695591 | |||
| Eje de contador (viejo 063-32192-20) | ||||
| 286 | 6686427 | 52.34 | 63.33 | |
| Anillo de parada C-13, exterior (antiguo 993-50013 | ||||
| 287 | 6695283 | 1.15 | 1.39 | |
| Caja de embrague Comp. (antiguo 150-32141-80) | ||||
| 288 | 6687336 | 40.24 | 48.69 | |
| Caja de embrague Comp. (antiguo 226-32141-80) | ||||
| 289 | 6688199 | 12.38 | 14.97 | |
| Cable del acelerador 370+45.5 (antiguo 885-71010-8 | ||||
| 301 | 6693987 | 4.79 | 5.79 | |
| No hay información disponible, no se puede pedir | ||||
| 302 | 6687532 | |||
| Componente del Mango A (antiguo 258-3210a-82) | ||||
| 303 | 6688369 | 36.15 | 43.74 | |
| Empuñadura A (antigua 165-33130-20/6691224) | ||||
| 304 | 6687624 | 5.78 | 6.99 | |
| Palanca del acelerador (antiguo 101-32120-20) | ||||
| 305 | 6686799 | 2.31 | 2.80 | |
| Tornillo 5x25 (antiguo 990-11050-251/6694895) | ||||
| 306 | 6694896 | 1.15 | 1.39 | |
| Tuerca hexagonal 5 (antiguo 991-01050-011) | ||||
| 307 | 6684965 | 1.04 | 1.26 | |
| Abrazadera de cuerda (antiguo 198-33130-20) | ||||
| 308 | 6688015 | 1.15 | 1.39 | |
| Tornillo Plus 6x16 (antiguo 990-23060-161) | ||||
| 309 | 6695019 | 1.15 | 1.39 | |
| Arandela | ||||
| 310 | 6695219 | 1.15 | 1.39 | |
| Componente del Mango B (antiguo 259-3210a-80) | ||||
| 311 | 6688372 | 13.20 | 15.97 | |
| Empuñadura (antiguo 055-32130-20) | ||||
| 312 | 6686350 | 5.28 | 6.38 | |
| Arandela | ||||
| 313 | 6695225 | 1.15 | 1.39 | |
| Interruptor de parada Comp. (antiguo 156-3210a-80/ | ||||
| 314 | 6687431 | 8.41 | 10.18 | |
| Botón de parada Marca (antiguo 925-33176-20) | ||||
| 315 | 6694589 | 2.31 | 2.80 | |
| Botón Stop (antiguo 258-11650-20) | ||||
| 316 | 6688366 | 1.15 | 1.39 | |
| Tornillo 3x10 (antiguo 994-31030-101) | ||||
| 317 | 6684913 | 2.15 | 2.60 | |
| Soporte de manija del portabrocas (antiguo 155-321 | ||||
| 318 | 6687420 | 4.45 | 5.38 | |
| Soporte de la manija comp. (antiguo 265-71000-80) | ||||
| 319 | 6688404 | 15.88 | 19.21 | |
| Arandela | ||||
| 320 | 6695219 | 1.15 | 1.39 | |
| No hay información disponible, no se puede pedir | ||||
| 321 | 6684792 | |||
| Tornillo Plus 6x30 (antiguo 990-23060-301) | ||||
| 322 | 6695022 | 1.15 | 1.39 | |
| Arandela | ||||
| 323 | 6695219 | 1.15 | 1.39 | |
| Componente del Mango A (antiguo 258-71020-80) Nuev | ||||
| 324 | 6688370 | 30.25 | 36.60 | |
| Palanca del acelerador (antiguo 060-71020-20) | ||||
| 325 | 6686401 | 1.15 | 1.39 | |
| Tornillo autoperforante 4x14 P (viejo 993-49040-14 | ||||
| 326 | 6695280 | 1.15 | 1.39 | |
| Tornillo 4x6 (antiguo 990-11040-061) | ||||
| 327 | 6694860 | 1.15 | 1.39 | |
| Cuerpo del acelerador B (antiguo 884-71020-20) | ||||
| 328 | 6693818 | 3.30 | 3.99 | |
| Cuerpo del acelerador A (antiguo 875-71020-20) | ||||
| 329 | 6693795 | 3.30 | 3.99 | |
| Interruptor de parada comp. (antiguo 170-71020-80) | ||||
| 330 | 6687776 | 8.58 | 10.38 | |
| Botón de parada Marca (antiguo 925-33160-20) | ||||
| 331 | 6694588 | 1.15 | 1.39 | |
| Resorte del Acelerador (antiguo 061-71020-20) | ||||
| 332 | 6686421 | 1.15 | 1.39 | |
| Cable del acelerador 400+30 (antiguo 885-71021-80) | ||||
| 333 | 6693988 | 6.28 | 7.59 | |
| Tubo de protección 345l (antiguo 164-07034-50) | ||||
| 334 | 6687535 | 1.15 | 1.39 | |
| Tornillo Plus 6x30 (antiguo 990-23060-301) | ||||
| 351 | 6695022 | 1.15 | 1.39 | |
| Arandela | ||||
| 352 | 6695219 | 1.15 | 1.39 | |
| Componente del Mango A (antiguo 258-3210a-82) | ||||
| 353 | 6688369 | 36.15 | 43.74 | |
| Empuñadura A (antigua 165-33130-20/6691224) | ||||
| 354 | 6687624 | 5.78 | 6.99 | |
| Palanca del acelerador (antiguo 101-32120-20) | ||||
| 355 | 6686799 | 2.31 | 2.80 | |
| Tornillo 5x25 (antiguo 990-11050-251/6694895) | ||||
| 356 | 6694896 | 1.15 | 1.39 | |
| Tuerca hexagonal 5 (antiguo 991-01050-011) | ||||
| 357 | 6684965 | 1.04 | 1.26 | |
| Abrazadera de cuerda (antiguo 198-33130-20) | ||||
| 358 | 6688015 | 1.15 | 1.39 | |
| Tornillo Plus 6x16 (antiguo 990-23060-161) | ||||
| 359 | 6695019 | 1.15 | 1.39 | |
| Arandela | ||||
| 360 | 6695219 | 1.15 | 1.39 | |
| Componente del Mango B (antiguo 259-3210a-80) | ||||
| 361 | 6688372 | 13.20 | 15.97 | |
| Empuñadura (antiguo 055-32130-20) | ||||
| 362 | 6686350 | 5.28 | 6.38 | |
| Arandela | ||||
| 363 | 6695225 | 1.15 | 1.39 | |
| Interruptor de parada Comp. (antiguo 156-3210a-80/ | ||||
| 364 | 6687431 | 8.41 | 10.18 | |
| Botón de parada Marca (antiguo 925-33176-20) | ||||
| 365 | 6694589 | 2.31 | 2.80 | |
| Botón Stop (antiguo 258-11650-20) | ||||
| 366 | 6688366 | 1.15 | 1.39 | |
| Tornillo 3x10 (antiguo 994-31030-101) | ||||
| 367 | 6684913 | 2.15 | 2.60 | |
| Cable del acelerador 370+45.5 (antiguo 885-71010-8 | ||||
| 368 | 6693987 | 4.79 | 5.79 | |
| No hay información disponible, no se puede pedir | ||||
| 369 | 6687532 | |||
| Soporte de manija del portabrocas (antiguo 155-321 | ||||
| 370 | 6687420 | 4.45 | 5.38 | |
| Soporte de la manija comp. (antiguo 265-71000-80) | ||||
| 371 | 6688404 | 15.88 | 19.21 | |
| Arandela | ||||
| 372 | 6695219 | 1.15 | 1.39 | |
| No hay información disponible, no se puede pedir | ||||
| 373 | 6684792 | |||
| Tornillo 5x18/s (antiguo 994-14050-181) | ||||
| 374 | 6695339 | 1.15 | 1.39 | |
| Componente del Mango A (antiguo 258-71020-80) Nuev | ||||
| 375 | 6688370 | 30.25 | 36.60 | |
| Palanca del acelerador (antiguo 060-71020-20) | ||||
| 376 | 6686401 | 1.15 | 1.39 | |
| Tornillo autoperforante 4x14 P (viejo 993-49040-14 | ||||
| 377 | 6695280 | 1.15 | 1.39 | |
| Tornillo 4x6 (antiguo 990-11040-061) | ||||
| 378 | 6694860 | 1.15 | 1.39 | |
| Cuerpo del acelerador B (antiguo 884-71020-20) | ||||
| 379 | 6693818 | 3.30 | 3.99 | |
| Cuerpo del acelerador A (antiguo 875-71020-20) | ||||
| 380 | 6693795 | 3.30 | 3.99 | |
| Interruptor de parada comp. (antiguo 170-71020-80) | ||||
| 381 | 6687776 | 8.58 | 10.38 | |
| Botón de parada Marca (antiguo 925-33160-20) | ||||
| 382 | 6694588 | 1.15 | 1.39 | |
| Resorte del Acelerador (antiguo 061-71020-20) | ||||
| 383 | 6686421 | 1.15 | 1.39 | |
| Cable del acelerador 400+30 (antiguo 885-71021-80) | ||||
| 384 | 6693988 | 6.28 | 7.59 | |
| Tubo de protección 345l (antiguo 164-07034-50) | ||||
| 385 | 6687535 | 1.15 | 1.39 | |
| Llave combinada 10x19 (antiguo 036-29710-11/668599 | ||||
| 501 | 6685999 | 5.11 | 6.19 | |
| No hay información disponible, no se puede pedir | ||||
| 502 | 6686379 | |||
| Ya no disponible, sin reemplazo | ||||
| 503 | 6686780 | |||
| Adaptador de mango (antiguo 076-71020-20) | ||||
| 504 | 6686620 | 13.53 | 16.37 | |
| No hay información disponible, no se puede pedir | ||||
| 505 | 6693647 | |||
| Juego de Mango de Mandril (antiguo 059-32120-91) | ||||
| 506 | 6686372 | 44.31 | 53.62 | |
| Mandril de perforación Ass'y (antiguo 060-32120-91 | ||||
| 507 | 6686377 | 80.31 | 97.18 | |
| Comp. de manija del chuck (antiguo 061-32120-81) | ||||
| 508 | 6686410 | 4.45 | 5.38 | |
| Símbolo Dw25ef(sk) (antiguo 929-0736f-20) Nuevo | ||||
| 601 | 6694670 | 1.15 | 1.39 | |
| Marca Símbolo Dw25ef(sr) (antiguo 929-0736j-20) Nu | ||||
| 602 | 6694673 | 1.05 | 1.27 | |
| Marca de Símbolo Dw25ef(skp) (antiguo 929-0740k-20 | ||||
| 603 | 6694684 | 1.05 | 1.27 | |
| Marca de Símbolo Dw25ef(srp) (antiguo 929-0740l-20 | ||||
| 604 | 6694685 | 1.05 | 1.27 | |