Aquí encontrará todas las piezas y dibujos técnicos disponibles de 'Hikoki DW25EG'. Desde aquí podrá pedir todas las piezas deseadas directamente. Para muchas piezas de repuesto, es necesario pasar un pedido al fabricante. Dependiendo de la marca, el plazo de entrega puede variar entre una y cuatro semanas. Toda la información que tenemos está en nuestro sitio web. No podremos aconsejarle sobre lo que necesita hasta que entregue la máquina para su reparación. Tenga en cuenta lo siguiente a la hora de cursar su pedido:
Dibujo técnico de los/las Hikoki DW25EG
Lista de las piezas de repuesto de Hikoki DW25EG
| Pos. | Descripción | Precio con el IVA excluido | Precio con el IVA incluido | |
| Los precios mostrados incluyen el IVA | ||||
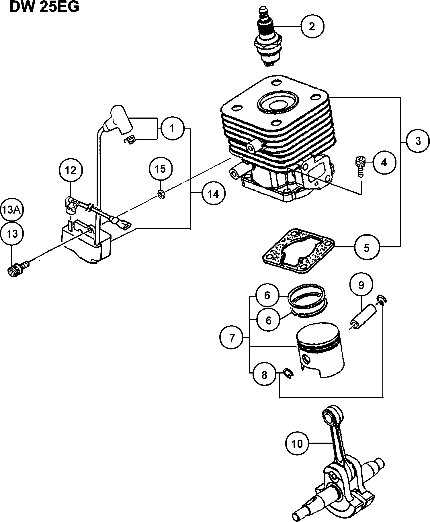
| Ensamblaje de tapa de enchufe (antiguo 157-01680-9 | ||||
| 1 | 6684894 | 8.58 | 10.38 | |
| BUJÍA BMR6A | ||||
| 2 | 6699315 | 13.35 | 16.15 | |
| No hay información disponible, no se puede pedir | ||||
| 3 | 6685495 | |||
| Bolt M5x18 / s hexagonal (antiguo 994-61050-184) | ||||
| 4 | 6684586 | 2.15 | 2.60 | |
| Junta del cilindro (antiguo 017-07350-20) | ||||
| 5 | 6684896 | 2.15 | 2.60 | |
| Anillo de pistón (antiguo 041-01700-20) | ||||
| 6 | 6686121 | 4.45 | 5.38 | |
| Conjunto de pistones (antiguo 030-07350-90) | ||||
| 7 | 6685902 | 20.11 | 24.34 | |
| Circlip del pasador del pistón (antiguo 039-00601- | ||||
| 8 | 6684590 | 2.15 | 2.60 | |
| Pasador de pistón (antiguo 037-07045-20) | ||||
| 9 | 6684591 | 4.29 | 5.19 | |
| Cigüeñal comp. (antiguo 046-07350-82) | ||||
| 10 | 6686219 | 72.30 | 87.48 | |
| Parada de cable B 190m (antiguo 178-01680-80) | ||||
| 12 | 6687836 | 2.31 | 2.80 | |
| Tornillo con agujero hexagonal M4x18/ws (antiguo 9 | ||||
| 13 | 6684599 | 2.15 | 2.60 | |
| Tornillo de alta tensión 4x18ws (antiguo 994-16040 | ||||
| 13A | 6695407 | 1.15 | 1.39 | |
| Bobina (antiguo 167-21015-90) | ||||
| 14 | 6687689 | 42.20 | 51.06 | |
| Arandela (antiguo 182-0186a-20) | ||||
| 15 | 6684600 | 2.15 | 2.60 | |
| Calzo de eje de engranaje 0.20 (antiguo 330-00200- | ||||
| 21 | 6684604 | 2.15 | 2.60 | |
| Calzo de eje de engranaje 0.30 (antiguo 330-00200- | ||||
| 21 | 6684605 | 2.15 | 2.60 | |
| Rotór de Magneto Combinado Fw- (antiguo 155-21014- | ||||
| 22 | 6687385 | 22.24 | 26.91 | |
| Tuerca M8 (antiguo 991-01080-011/327325/332299/726 | ||||
| 23 | 6684612 | 2.15 | 2.60 | |
| Arandela M8 (antiguo 992-01080-011) | ||||
| 24 | 6684611 | 2.15 | 2.60 | |
| Caja de cigüeñal (antiguo 072-03045-94) | ||||
| 25 | 6684905 | 54.45 | 65.88 | |
| Sello de aceite | ||||
| 26 | 6684607 | 4.29 | 5.19 | |
| Rodamiento de bolas 6001 C3 | ||||
| 27 | 6684608 | 3.80 | 4.60 | |
| Junta de cárter (Antiguo 090-07350-22) | ||||
| 28 | 6684904 | 2.15 | 2.60 | |
| Tornillo hexagonal M5x16/s (antiguo 994-61050-164) | ||||
| 29 | 6684903 | 2.15 | 2.60 | |
| Junta del colector de admisión | ||||
| 41 | 6689895 | 1.15 | 1.39 | |
| Juego de Aislantes (viejo 404-07020-91) | ||||
| 42 | 6689972 | 6.28 | 7.59 | |
| Tornillo de orificio hexagonal 5x25/ws (antiguo 99 | ||||
| 43 | 6684617 | 2.15 | 2.60 | |
| Junta del carburador (antiguo 402-0656a-20) | ||||
| 44 | 6684616 | 2.15 | 2.60 | |
| Set carburador Wyj-463 (antiguo 455-0740a-90) | ||||
| 45 | 6690522 | 80.31 | 97.18 | |
| Cuerpo de limpiador completo (antiguo 423-0652n-80 | ||||
| 46 | 6690120 | 4.45 | 5.38 | |
| Esponja de limpieza | ||||
| 47 | 6690365 | 1.15 | 1.39 | |
| Cubierta del filtro de aire | ||||
| 48 | 6690402 | 10.23 | 12.37 | |
| Comp. de perno de fijación de la cubierta | ||||
| 49 | 6698730 | 3.15 | 3.81 | |
| Tornillo 5x55 (antiguo 990-11050-552) | ||||
| 50 | 6694914 | 1.15 | 1.39 | |
| Arandela 5 (antiguo 992-00050-011) | ||||
| 51 | 6684864 | 2.15 | 2.60 | |
| Placa de estrangulamiento 2.0 (antiguos 528-0652n- | ||||
| 52 | 6691276 | 1.15 | 1.39 | |
| Palanca de control del estrangulador (antiguo 523- | ||||
| 53 | 6691239 | 1.15 | 1.39 | |
| Tanque Blanco (antiguo 591-07350-22/6691519/669160 | ||||
| 54 | 6691602 | 15.13 | 18.30 | |
| TANQUE | ||||
| 54A | 6601167 | 8.91 | 10.78 | |
| Collar 5.8 (antiguo 659-00801-20) | ||||
| 55 | 6692244 | 1.15 | 1.39 | |
| Goma de retorno hasta 7.2014 (antigua 6684627) | ||||
| 56 | 6697846 | 1.04 | 1.26 | |
| Ya no disponible, sin reemplazo | ||||
| 56A | 6600358 | |||
| Tubo de combustible 3x5x65 (antiguo 700-03005-06) | ||||
| 57 | 6684626 | 2.15 | 2.60 | |
| No hay información disponible, no se puede pedir | ||||
| 58 | 6684620 | |||
| Clip D6 (antiguo 680-00070-20) | ||||
| 59 | 6685198 | 1.15 | 1.39 | |
| Tubo de combustible Ass'y (antiguo 223-0097a-90) | ||||
| 60 | 6684618 | 4.29 | 5.19 | |
| Tubo de Combustible | ||||
| 60A | 6601181 | 1.04 | 1.26 | |
| No hay información disponible, no se puede pedir | ||||
| 62 | 6685049 | |||
| No hay información disponible, no se puede pedir | ||||
| 63 | 6684625 | |||
| Perno de agujero hexagonal 5x16/ps (antiguo 994-63 | ||||
| 64 | 6695504 | 1.15 | 1.39 | |
| Perno (con brida) | ||||
| 64A | 6696574 | 1.05 | 1.27 | |
| Tornillo autoperforante 4x14 P (viejo 993-49040-14 | ||||
| 65 | 6695280 | 1.15 | 1.39 | |
| Arandela | ||||
| 66 | 6685070 | 1.15 | 1.39 | |
| Arandela (antiguo 992-10050-012) | ||||
| 67 | 6684662 | 2.15 | 2.60 | |
| Tapa del Cilindro Negro (anterior 016-07500-20) | ||||
| 71 | 6685693 | 4.79 | 5.79 | |
| Perno de agujero hexagonal 5x16/ps (antiguo 994-63 | ||||
| 72 | 6695504 | 1.15 | 1.39 | |
| Tornillo Hex. Orificio 6x65 (antiguo 990-51060-653 | ||||
| 73 | 6695067 | 1.15 | 1.39 | |
| Arandela | ||||
| 74 | 6684639 | 2.15 | 2.60 | |
| No hay información disponible, no se puede pedir | ||||
| 75 | 6699602 | |||
| Protector del silenciador (antiguo 738-0740a-80) | ||||
| 77 | 6692817 | 20.11 | 24.34 | |
| Tornillo de agujero hexagonal 4x18ws (antiguo 994- | ||||
| 78 | 6695508 | 1.15 | 1.39 | |
| Tornillo 4x18/ps (antiguo 994-15040-182) | ||||
| 78A | 6695375 | 1.15 | 1.39 | |
| Deflector Negro (antiguo 132-0740c-20) | ||||
| 79 | 6687217 | 3.30 | 3.99 | |
| Arandela | ||||
| 80 | 6684642 | 2.15 | 2.60 | |
| No hay información disponible, no se puede pedir | ||||
| 80A | 6697619 | |||
| Zapato de embrague | ||||
| 81 | 6684643 | 11.55 | 13.98 | |
| No hay información disponible, no se puede pedir | ||||
| 81A | 6697656 | |||
| Resorte de embrague (viejo 342-0630b-20) | ||||
| 82 | 6684644 | 2.15 | 2.60 | |
| Resorte de embrague | ||||
| 82A | 6697657 | 1.04 | 1.26 | |
| Placa de embrague A 0.5 (antigua 348-0630a-20/6689 | ||||
| 83 | 6684645 | 2.15 | 2.60 | |
| Placa de embrague A (antiguo 348-0602r-20) | ||||
| 83A | 6689528 | 1.15 | 1.39 | |
| Perno de paso (antiguo 357-0075t-20) | ||||
| 84 | 6684646 | 2.15 | 2.60 | |
| Perno de paso (antiguo 357-00601-20) | ||||
| 84A | 6689627 | 1.15 | 1.39 | |
| Tornillo de agujero hexagonal M5x18/ws (anterior 9 | ||||
| 85 | 6684647 | 2.15 | 2.60 | |
| Arandela | ||||
| 86 | 6684648 | 2.15 | 2.60 | |
| Conjunto de embrague | ||||
| 87 | 6697655 | 6.76 | 8.18 | |
| Bolt de agujero hexagonal 4x15/ps (antiguo 994-630 | ||||
| 88 | 6684682 | 2.15 | 2.60 | |
| Escudo térmico | ||||
| 89 | 6687265 | 4.45 | 5.38 | |
| Tornillo autorroscante 4x14 (antiguo 993-48040-142 | ||||
| 90 | 6684751 | 2.15 | 2.60 | |
| No hay información disponible, no se puede pedir | ||||
| 91 | 6697214 | |||
| Goma de cable principal (ancien 203-11660-20) | ||||
| 92 | 6688057 | 1.15 | 1.39 | |
| Junta de escape especial (antiguo 751-06500-20) | ||||
| 93 | 6692886 | 1.15 | 1.39 | |
| Set de Tubo de Escape (antiguo 734-0740a-90) | ||||
| 94 | 6692716 | 4.79 | 5.79 | |
| Tornillo M4x8/ws (anterior 994-36040-081) | ||||
| 95 | 6684651 | 2.15 | 2.60 | |
| Arresta chispas (antiguo 732-0740a-20) Nuevo | ||||
| 96 | 6692702 | 2.31 | 2.80 | |
| No hay información disponible, no se puede pedir | ||||
| 101A | 6699995 | |||
| Cuerpo de Arrancador de Retroceso Comp. (antiguo 7 | ||||
| 102 | 6684673 | 19.06 | 23.07 | |
| Cuerda de arranque 3.5x860 (antiguo 783-0720f-20/6 | ||||
| 103 | 6684674 | 4.29 | 5.19 | |
| Resorte de retroceso (antiguo 780-06097-20/6697591 | ||||
| 104 | 6684675 | 11.55 | 13.98 | |
| Carrete de cuerda de arranque | ||||
| 105A | 6699997 | 8.41 | 10.18 | |
| Resorte de amortiguador (antiguo 758-0651h-20) | ||||
| 106 | 6684677 | 8.58 | 10.38 | |
| PLACA DE LEVA | ||||
| 107A | 6699996 | 2.55 | 3.09 | |
| Tornillo de ajuste (antiguo 839-03045-20) | ||||
| 108 | 6684679 | 2.15 | 2.60 | |
| Manija de inicio | ||||
| 109 | 6684680 | 2.15 | 2.60 | |
| Polea de arranque Ass'y (antiguo 798-0651h-90) | ||||
| 110 | 6684681 | 13.20 | 15.97 | |
| Anillo de retención D4e (antiguo 993-55040-001) | ||||
| 111 | 6685101 | 1.15 | 1.39 | |
| Muelle de trinquete de arranque (antiguo 790-06097 | ||||
| 112 | 6684684 | 4.29 | 5.19 | |
| Empuñadura de arranque (antiguo 788-0651h-20) | ||||
| 113 | 6684685 | 4.29 | 5.19 | |
| Tornillo de agujero hexagonal 4x18ws (antiguo 994- | ||||
| 114 | 6695508 | 1.15 | 1.39 | |
| Tornillo 4x18/ps (antiguo 994-15040-182) | ||||
| 114A | 6695375 | 1.15 | 1.39 | |
| Ass'y de Placa de Leva | ||||
| 115 | 6699691 | 6.10 | 7.38 | |
| Cuerpo de bomba comp. (antiguo 575-25153-80) | ||||
| 121 | 6684879 | 62.16 | 75.22 | |
| Bomba de cebado comp. (antiguo 442-25151-80) | ||||
| 122 | 6684687 | 16.34 | 19.77 | |
| Cubierta de diafragma (antiguo 476-25151-20) | ||||
| 123 | 6684688 | 8.58 | 10.38 | |
| Cuerpo de cebado (antiguo 447-25108-20) | ||||
| 124 | 6684689 | 6.44 | 7.79 | |
| Ya no disponible, sin reemplazo | ||||
| 125 | 6684690 | |||
| Junta de diafragma (antiguo 475-25153-20) | ||||
| 126 | 6684691 | 8.58 | 10.38 | |
| Diafragma de bomba (antiguo 576-25100-20 & 6696325 | ||||
| 127 | 6684693 | 8.58 | 10.38 | |
| Junta de bomba (antiguo 577-25292-20 & 6696321) | ||||
| 128 | 6684692 | 29.19 | 35.32 | |
| Chorro principal #38.5 (antiguo 599-200bw-38/66918 | ||||
| 129 | 6696130 | 5.78 | 6.99 | |
| O-RING (antiguo 550-25100-20) | ||||
| 130 | 6684695 | 4.29 | 5.19 | |
| Anillo de parada (antiguo 489-25100-20) | ||||
| 131 | 6684696 | 2.15 | 2.60 | |
| Giratorio (antiguo 539-25120-20) | ||||
| 132 | 6684697 | 6.44 | 7.79 | |
| Tornillo de Ajuste del Acelerador (antiguo 514-251 | ||||
| 133 | 6684870 | 2.15 | 2.60 | |
| Regulador de Cable (antiguo 544-25164-20) | ||||
| 134 | 6684873 | 6.44 | 7.79 | |
| Empaquetadura del Limpiador (antiguo 431-0634c-20) | ||||
| 137 | 6684875 | 4.29 | 5.19 | |
| Tornillo de ajuste (antiguo 548-25151-20 & 6696324 | ||||
| 138 | 6684699 | 2.15 | 2.60 | |
| Arandela (antiguo 549-25165-20) | ||||
| 139 | 6684874 | 2.15 | 2.60 | |
| Pantalla de entrada (antiguo 578-25007-20) | ||||
| 140 | 6684700 | 4.29 | 5.19 | |
| Caja de engranajes A Comp. (antiguo 002-32182-80) | ||||
| 151 | 6685578 | 28.14 | 34.05 | |
| Ya no disponible, sin reemplazo | ||||
| 152 | 6685593 | |||
| Caja de embrague Comp. (antiguo 226-71010-80) | ||||
| 153 | 6688210 | 19.51 | 23.61 | |
| Engranaje 2 (antiguo 012-32191-20) | ||||
| 154 | 6685656 | 28.44 | 34.41 | |
| No hay información disponible, no se puede pedir | ||||
| 155 | 6685702 | |||
| Chaveta de Wood-ruff 3x10x3.7 (antigua 068-00300-2 | ||||
| 156 | 6686454 | 1.15 | 1.39 | |
| Rodamiento de bolas 6001z | ||||
| 157 | 6695532 | 6.60 | 7.99 | |
| No hay información disponible, no se puede pedir | ||||
| 158 | 6695534 | |||
| Anillo de parada C 11, exterior (antiguo 993-50011 | ||||
| 159 | 6695282 | 1.15 | 1.39 | |
| Engranaje 4 (antiguo 018-32192-20) | ||||
| 160 | 6685788 | 50.21 | 60.76 | |
| Rodamiento de bolas #7202b | ||||
| 161 | 6695587 | 14.21 | 17.20 | |
| Arandela C 5.0 (antiguo 040-32120-20) | ||||
| 162 | 6686065 | 3.30 | 3.99 | |
| Rodamiento de bolas #6202z | ||||
| 163 | 6695559 | 6.44 | 7.79 | |
| Arandela | ||||
| 164 | 6695206 | 1.15 | 1.39 | |
| Anillo de tope C-35, interno (antiguo 993-51035-00 | ||||
| 165 | 6695296 | 1.15 | 1.39 | |
| Chaveta Wood-ruff 3x13x5 (antiguo 068-01006-20) | ||||
| 166 | 6686455 | 1.15 | 1.39 | |
| Eje de transmisión (antiguo 022-32183-20) | ||||
| 167 | 6685824 | 104.51 | 126.46 | |
| Tornillo 5x18/s (antiguo 994-14050-181) | ||||
| 168 | 6695339 | 1.15 | 1.39 | |
| Anillo de parada C-13, exterior (antiguo 993-50013 | ||||
| 169 | 6695283 | 1.15 | 1.39 | |
| Palanca de bloqueo Comp. (antiguo 405-32182-81) | ||||
| 170 | 6689992 | 8.41 | 10.18 | |
| Resorte de palanca de bloqueo (antiguo 406-32182-2 | ||||
| 171 | 6689998 | 4.45 | 5.38 | |
| Arandela | ||||
| 172 | 6687942 | 1.15 | 1.39 | |
| Arandela | ||||
| 173 | 6685103 | 1.15 | 1.39 | |
| Perno de paso (antiguo 793-10200-20) | ||||
| 174 | 6693366 | 1.15 | 1.39 | |
| TEATRO DE GRASA COMP. (VIEJO 300-32250-80) | ||||
| 175 | 6688643 | 1.15 | 1.39 | |
| Arandela | ||||
| 176 | 6695219 | 1.15 | 1.39 | |
| No hay información disponible, no se puede pedir | ||||
| 177 | 6684792 | |||
| Cuerpo del acelerador A (antiguo 875-71020-20) | ||||
| 201 | 6693795 | 3.30 | 3.99 | |
| Cuerpo del acelerador B (antiguo 884-71020-20) | ||||
| 202 | 6693818 | 3.30 | 3.99 | |
| Palanca del acelerador Dh (antiguo 060-71026-20) | ||||
| 203 | 6686402 | 3.30 | 3.99 | |
| Resorte del Acelerador (antiguo 061-71020-20) | ||||
| 204 | 6686421 | 1.15 | 1.39 | |
| Tornillo autoperforante 4x14 P (viejo 993-49040-14 | ||||
| 205 | 6695280 | 1.15 | 1.39 | |
| Tornillo 4x6 (antiguo 990-11040-061) | ||||
| 206 | 6694860 | 1.15 | 1.39 | |
| Tubo de protección 7x530l (antiguo 164-07053-00) | ||||
| 207 | 6687537 | 1.15 | 1.39 | |
| Conjunto de manija (antiguo 6686256) | ||||
| 208 | 6697263 | 148.83 | 180.08 | |
| Arandela | ||||
| 209 | 6684639 | 2.15 | 2.60 | |
| Arandela | ||||
| 210 | 6695219 | 1.15 | 1.39 | |
| Tornillo Plus 6x12 (antiguo 990-23060-121) Nuevo | ||||
| 211 | 6695015 | 1.15 | 1.39 | |
| Arandela | ||||
| 212 | 6695198 | 1.15 | 1.39 | |
| Arandela | ||||
| 213 | 6695225 | 1.15 | 1.39 | |
| Tornillo 10x20 (antiguo 990-21100-201) Nuevo | ||||
| 214 | 6695005 | 1.15 | 1.39 | |
| Cable del acelerador 585+32 (antiguo 885-71026-80) | ||||
| 215 | 6693989 | 6.93 | 8.38 | |
| Interruptor de parada comp. (antiguo 170-71026-80) | ||||
| 216 | 6687777 | 8.25 | 9.98 | |
| Abrazadera de cuerda (antiguo 198-33130-20) | ||||
| 217 | 6688015 | 1.15 | 1.39 | |
| Botón Stop (antiguo 258-11650-20) | ||||
| 218 | 6688366 | 1.15 | 1.39 | |
| Botón de parada Marca (antiguo 925-33160-20) | ||||
| 219 | 6694588 | 1.15 | 1.39 | |
| Tornillo 3x10 (antiguo 994-31030-101) | ||||
| 220 | 6684913 | 2.15 | 2.60 | |
| Llave 17x19 (antiguo 049-29321-75) Nuevo | ||||
| 501 | 6686251 | 4.35 | 5.26 | |
| Llave combinada 10x19 (antiguo 036-29710-11/668599 | ||||
| 502 | 6685999 | 5.11 | 6.19 | |
| No hay información disponible, no se puede pedir | ||||
| 503 | 6693647 | |||