Aquí encontrará todas las piezas y dibujos técnicos disponibles de 'Hikoki ECV-3800'. Desde aquí podrá pedir todas las piezas deseadas directamente. Para muchas piezas de repuesto, es necesario pasar un pedido al fabricante. Dependiendo de la marca, el plazo de entrega puede variar entre una y cuatro semanas. Toda la información que tenemos está en nuestro sitio web. No podremos aconsejarle sobre lo que necesita hasta que entregue la máquina para su reparación. Tenga en cuenta lo siguiente a la hora de cursar su pedido:
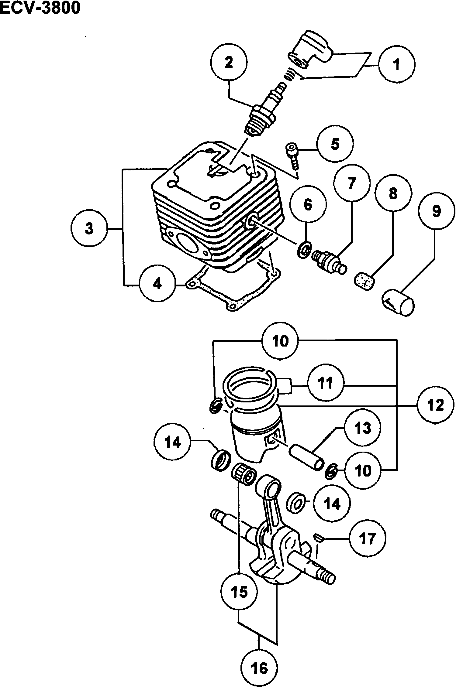
Dibujo técnico de los/las Hikoki ECV-3800
Lista de las piezas de repuesto de Hikoki ECV-3800
| Pos. | Descripción | Precio con el IVA excluido | Precio con el IVA incluido | |
| Los precios mostrados incluyen el IVA | ||||
| Conjunto de tapa de bujía (antiguo 157-01570-90/66 | ||||
| 1 | 6687468 | 2.31 | 2.80 | |
| Ensamble de bujía Bpm7a para Sudamérica | ||||
| 2 | 6699318 | 6.76 | 8.18 | |
| No hay información disponible, no se puede pedir | ||||
| 3 | 6685464 | |||
| Junta de cilindro (antiguo 017-04063-20) | ||||
| 4 | 6685731 | 1.15 | 1.39 | |
| Perno de agujero hexagonal M5x20/s (antiguo 994-61 | ||||
| 5 | 6695491 | 1.15 | 1.39 | |
| Junta de válvula de descompresión (antiguo 028-040 | ||||
| 6 | 6685860 | 1.15 | 1.39 | |
| Descompresión Comp. (antiguo 004-04063-80) | ||||
| 7 | 6685589 | 28.14 | 34.05 | |
| Tapa de descompresión (viejo 020-04063-20) | ||||
| 8 | 6685800 | 1.15 | 1.39 | |
| Cubierta antipolvo (antiguo 470-3252k-20) | ||||
| 9 | 6690808 | 26.16 | 31.66 | |
| Circlip de pasador de pistón (antiguo 039-01000-20 | ||||
| 10 | 6686026 | 1.15 | 1.39 | |
| Anillo de pistón, Parker (antiguo 041-04063-20) | ||||
| 11 | 6686124 | 4.95 | 5.99 | |
| Conjunto de pistones, repuesto (antiguo 030-04063- | ||||
| 12 | 6685883 | 22.24 | 26.91 | |
| Pasador de pistón 10x30 (antiguo 037-01000-20) | ||||
| 13 | 6686007 | 2.31 | 2.80 | |
| Collar de pasador de pistón (antiguo 036-04090-20) | ||||
| 14 | 6685993 | 5.28 | 6.38 | |
| Rodamiento de agujas, 2x8.8 (antiguo 999-62101-480 | ||||
| 15 | 6695602 | 5.28 | 6.38 | |
| Conjunto de cigüeñal. (viejo 046-04063-81) | ||||
| 16 | 6686182 | 108.45 | 131.22 | |
| Chaveta semilunar 3x13x4.5 (antiguo 068-10100-20) | ||||
| 17 | 6684899 | 2.15 | 2.60 | |
| Amortiguador lateral | ||||
| 31 | 6688164 | 1.15 | 1.39 | |
| Tornillo de agujero hexagonal 5x35 (antiguo 990-53 | ||||
| 32 | 6695076 | 1.15 | 1.39 | |
| Tubería de aceite A (antiguo 515-3252k-20) | ||||
| 33 | 6691219 | 4.45 | 5.38 | |
| Clip 7 (antiguo 680-04019-21) | ||||
| 34 | 6692312 | 1.15 | 1.39 | |
| Cuerpo de filtro de aceite Comp. | ||||
| 35 | 6697651 | 2.98 | 3.60 | |
| Calce S T0.2 (antiguo 071-04063-23) | ||||
| 36 | 6685098 | 1.15 | 1.39 | |
| Calce S T0.3 (antiguo 071-04063-24) | ||||
| 36 | 6685099 | 1.15 | 1.39 | |
| Calza 0.1 (antigua 071-04063-21) | ||||
| 36 | 6686474 | 1.15 | 1.39 | |
| Calza 0.4 (antigua 071-04063-25) | ||||
| 36 | 6686475 | 1.15 | 1.39 | |
| Ensamblaje de la caja de cigüeñal (antiguo 6686541 | ||||
| 37 | 6697589 | 100.43 | 121.51 | |
| Pasador de golpe 4x12 (antiguo 999-05041-203) | ||||
| 38 | 6695521 | 1.15 | 1.39 | |
| Sello de aceite | ||||
| 39 | 6695633 | 3.30 | 3.99 | |
| Anillo de parada interno C-32, antiguo no. de piez | ||||
| 40 | 6695295 | 1.15 | 1.39 | |
| Rodamiento de bolas 6201 A2c3 | ||||
| 41 | 6685096 | 5.28 | 6.38 | |
| Rodamiento de bolas 6201 A2c3 | ||||
| 42 | 6685096 | 5.28 | 6.38 | |
| Anillo de parada interno C-32, antiguo no. de piez | ||||
| 43 | 6695295 | 1.15 | 1.39 | |
| Sello de aceite | ||||
| 44 | 6695633 | 3.30 | 3.99 | |
| Junta de la caja del cigüeñal (antiguo 090-04063-2 | ||||
| 45 | 6686710 | 1.15 | 1.39 | |
| Válvula de ventilación de aire (b) (viejo 562-0406 | ||||
| 46 | 6685173 | 2.31 | 2.80 | |
| Cubierta de ventilación (antiguo 566-04063-20) | ||||
| 47 | 6691399 | 4.45 | 5.38 | |
| Bolt M5x18 / s hexagonal (antiguo 994-61050-184) | ||||
| 48 | 6684586 | 2.15 | 2.60 | |
| Perno de cabeza hueca hexagonal M5x30 S (antiguo 9 | ||||
| 49 | 6684786 | 2.15 | 2.60 | |
| Guía de aire | ||||
| 50 | 6687207 | 4.45 | 5.38 | |
| Arandela M8 (antiguo 992-01080-011) | ||||
| 51 | 6684611 | 2.15 | 2.60 | |
| Tuerca M8 (antiguo 991-01080-011/327325/332299/726 | ||||
| 52 | 6684612 | 2.15 | 2.60 | |
| Conjunto de rotor de magneto (antiguo 155-21541-90 | ||||
| 53 | 6687395 | 38.26 | 46.30 | |
| Arandela | ||||
| 54 | 6687942 | 1.15 | 1.39 | |
| Muelle del trinquete (antiguo 790-04063-20) | ||||
| 55 | 6693348 | 1.15 | 1.39 | |
| Trinquete de arranque (antiguo 788-01700-20) | ||||
| 56 | 6693304 | 2.31 | 2.80 | |
| Perno de paso (antiguo 793-10200-20) | ||||
| 57 | 6693366 | 1.15 | 1.39 | |
| Amortiguador de mango (antiguo 217-3252k-20) | ||||
| 58 | 6688107 | 1.15 | 1.39 | |
| EMBRAGUE DE DESLIZAMIENTO COMPLETO | ||||
| 72A | 6688489 | 15.58 | 18.85 | |
| Caja de embrague Comp.7T (antiguo 310-3252L-82) | ||||
| 73 | 6689009 | 30.25 | 36.60 | |
| Rodamiento de agujas Kt111410g (antiguo 999-62111- | ||||
| 74 | 6695606 | 7.59 | 9.18 | |
| Cubierta de la bomba de aceite (antiguo 097-3252k- | ||||
| 75 | 6686755 | 2.31 | 2.80 | |
| Tornillo de Engranaje Comp. (antiguo 084-3252k-80) | ||||
| 76 | 6686640 | 17.55 | 21.24 | |
| Ya no disponible, sin reemplazo | ||||
| 77 | 6687331 | |||
| Arandela | ||||
| 78 | 6686452 | 1.15 | 1.39 | |
| Tornillo pequeño 4x12ws (antiguo 994-16040-126) | ||||
| 79 | 6695403 | 1.15 | 1.39 | |
| Tornillo de alta tensión 4x18ws (antiguo 994-16040 | ||||
| 80 | 6695407 | 1.15 | 1.39 | |
| Válvula de liberación (antigua 086-3252k-20) | ||||
| 81 | 6686661 | 1.15 | 1.39 | |
| O-ring S-3 (antiguo 999-67003-012) | ||||
| 82 | 6695659 | 1.15 | 1.39 | |
| O-ring P-5 (antiguo 999-67005-000/6698965) | ||||
| 83 | 6695661 | 1.15 | 1.39 | |
| Resorte de embrague (antiguo 342-04063-21) | ||||
| 84 | 6689426 | 3.30 | 3.99 | |
| Zapato de embrague | ||||
| 85 | 6689493 | 7.10 | 8.59 | |
| Jefe de Embrague Desde V181601 | ||||
| 86 | 6689497 | 1.15 | 1.39 | |
| Arandela | ||||
| 87 | 6689642 | 2.31 | 2.80 | |
| Elemento del filtro de aire | ||||
| 101 | 6690335 | 4.79 | 5.79 | |
| Elemento del filtro de aire | ||||
| 102 | 6690325 | 4.79 | 5.79 | |
| Comp. de base del limpiador de aire (viejo 436-040 | ||||
| 103 | 6690198 | 3.30 | 3.99 | |
| Tornillo Hex. Agujero 5x45 (antiguo 990-51050-453) | ||||
| 104 | 6695055 | 1.15 | 1.39 | |
| Arandela (antiguo 992-10050-012) | ||||
| 105 | 6684662 | 2.15 | 2.60 | |
| Arandela 5 (antiguo 992-00050-011) | ||||
| 106 | 6684864 | 2.15 | 2.60 | |
| Tornillo de agujero hexagonal 5x15ws (antiguo 994- | ||||
| 107 | 6695512 | 1.15 | 1.39 | |
| Tornillo de ajuste de ralentí (antiguo 197-3252k-8 | ||||
| 109 | 6687993 | 2.31 | 2.80 | |
| Tornillo de ajuste de ralentí (antiguo 462-25016-2 | ||||
| 109A | 6685298 | 2.31 | 2.80 | |
| Arandela | ||||
| 110 | 6687943 | 1.15 | 1.39 | |
| Aislante de goma para carburador (antiguo 409-0406 | ||||
| 111 | 6690004 | 3.30 | 3.99 | |
| Aislador Comp. (antiguo 404-04063-81) | ||||
| 112 | 6689941 | 2.31 | 2.80 | |
| Ya no disponible, sin reemplazo | ||||
| 113 | 6689789 | |||
| Junta del colector de admisión | ||||
| 114 | 6689876 | 1.15 | 1.39 | |
| Tornillo con agujero hexagonal M4x12/s (antiguo 99 | ||||
| 115 | 6684595 | 2.15 | 2.60 | |
| Resorte de ajuste en ralentí (antiguo 463-25012-20 | ||||
| 116 | 6690766 | 2.31 | 2.80 | |
| Espaciador del colector de admisión (antiguo 400-3 | ||||
| 117 | 6685202 | 3.30 | 3.99 | |
| Junta del silenciador (antiguo 737-04063-20) | ||||
| 118 | 6692737 | 3.30 | 3.99 | |
| Conjunto de silenciador (antiguo 704-04063-90) | ||||
| 119 | 6692459 | 28.14 | 34.05 | |
| Soporte de silenciador (antiguo 760-04065-21/66928 | ||||
| 120 | 6692942 | 4.79 | 5.79 | |
| Tornillo hexagonal M5x16/s (antiguo 994-61050-164) | ||||
| 121 | 6684903 | 2.15 | 2.60 | |
| Tornillo de hexágono hueco 4x10 (antiguo 990-51040 | ||||
| 122 | 6695036 | 1.15 | 1.39 | |
| Arrancador de retroceso Ass'y (antiguo 756-04065-9 | ||||
| 141 | 6692916 | 26.16 | 31.66 | |
| Tornillo de ajuste (antiguo 839-02010-20/6693638) | ||||
| 142 | 6693633 | 1.15 | 1.39 | |
| Carrete de cuerda de arranque (viejo 774-01700-20) | ||||
| 143 | 6693059 | 7.10 | 8.59 | |
| Carcasa del resorte de retroceso (antiguo 778-0406 | ||||
| 144 | 6693096 | 9.90 | 11.98 | |
| Carcasa del ventilador | ||||
| 145 | 6686963 | 18.00 | 21.78 | |
| Placa (antiguo 795-04063-20) | ||||
| 146 | 6685189 | 1.15 | 1.39 | |
| Manija de inicio | ||||
| 147 | 6693230 | 4.45 | 5.38 | |
| Cuerda de Arranque (antiguo 783-01700-20) | ||||
| 148 | 6693158 | 3.30 | 3.99 | |
| Tornillo de agujero hexagonal 5x15ws (antiguo 994- | ||||
| 150 | 6695512 | 1.15 | 1.39 | |
| Montaje del carburador, Wt399a (antiguo 455-25086- | ||||
| 201 | 6690604 | 90.45 | 109.44 | |
| Pantalla de entrada (antiguo 578-25007-20) | ||||
| 202 | 6684700 | 4.29 | 5.19 | |
| Cuerpo de la bomba (antiguo 575-25006-20) | ||||
| 203 | 6691416 | 8.91 | 10.78 | |
| Tornillo (antiguo 514-25001-20) | ||||
| 204 | 6685210 | 1.15 | 1.39 | |
| Junta de la bomba (antiguo 577-25007-20) | ||||
| 205 | 6685212 | 2.31 | 2.80 | |
| Diafragma de la bomba (antiguo 576-25006-20) | ||||
| 206 | 6685213 | 4.45 | 5.38 | |
| Válvula de aguja (antiguo 603-25012-20) | ||||
| 207 | 6685215 | 5.28 | 6.38 | |
| Ya no disponible, sin reemplazo | ||||
| 208 | 6685220 | |||
| Ya no disponible, sin reemplazo | ||||
| 209 | 6690827 | |||
| Cubierta del diafragma (antiguo 476-25004-20) | ||||
| 210 | 6685222 | 4.45 | 5.38 | |
| Resorte de válvula (antiguo 477-25080-20) | ||||
| 211 | 6690872 | 2.31 | 2.80 | |
| Tornillo de fijación de pasador de bisagra (antigu | ||||
| 212 | 6685218 | 2.31 | 2.80 | |
| Pasador de bisagra (antiguo 605-25001-20) | ||||
| 213 | 6685219 | 1.15 | 1.39 | |
| Palanca de control (antiguo 473-25001-20) | ||||
| 214 | 6685217 | 3.30 | 3.99 | |
| Tornillo de ajuste (antiguo 548-25012-20) | ||||
| 215 | 6685223 | 1.15 | 1.39 | |
| Resorte de ajuste Alto/Bajo (antiguo 623-25032-20) | ||||
| 216 | 6692048 | 2.31 | 2.80 | |
| Tornillo de ajuste bajo (viejo 461-25086-20) Nuevo | ||||
| 217 | 6690719 | 5.94 | 7.18 | |
| Muelle de ajuste alto (antiguo 485-25040-20) | ||||
| 218 | 6690897 | 3.30 | 3.99 | |
| No hay información disponible, no se puede pedir | ||||
| 219 | 6690697 | |||
| Perilla de limpieza de aire Comp. (antiguo 175-325 | ||||
| 231 | 6687793 | 3.30 | 3.99 | |
| Cubierta del filtro de aire | ||||
| 232 | 6690404 | 4.79 | 5.79 | |
| Paso en vacío (antiguo 191-3252k-20) | ||||
| 233 | 6687974 | 1.15 | 1.39 | |
| Tapa de ajuste (antigua 190-3252k-20) | ||||
| 234 | 6687954 | 1.15 | 1.39 | |
| Tapa del cilindro (antiguo 016-04064-20) | ||||
| 235 | 6685681 | 8.25 | 9.98 | |
| Soporte de Cilindro de Goma (antiguo 599-04063-20) | ||||
| 236 | 6691825 | 1.15 | 1.39 | |
| Junta del Limpiador (antiguo 418-04063-20) | ||||
| 237 | 6690056 | 1.15 | 1.39 | |
| Tornillo de agujero hexagonal 5x15ws (antiguo 994- | ||||
| 238 | 6695512 | 1.15 | 1.39 | |
| Tubo aislante, 85l (antiguo 250-0075g-20/6688317) | ||||
| 239 | 6688315 | 1.15 | 1.39 | |
| Botón de Ahogo Comp. (antiguo 704-3252k-80) | ||||
| 240 | 6692507 | 2.31 | 2.80 | |
| Goma de sujeción de la varilla de estrangulación ( | ||||
| 241 | 6692587 | 1.15 | 1.39 | |
| Interruptor de parada comp. (Antiguo 162-04063-81/ | ||||
| 242 | 6687506 | 6.60 | 7.99 | |
| Placa de control (antiguo 511-04063-20) | ||||
| 243 | 6691192 | 1.15 | 1.39 | |
| Placa de persiana (antigua 188-3252k-20) | ||||
| 244 | 6687952 | 2.31 | 2.80 | |
| Detén el cordón, B225m (antiguo 179-04063-81/66879 | ||||
| 245 | 6687929 | 2.31 | 2.80 | |
| Tornillo de Cabeza Hexagonal M5x12 / s (antiguo 99 | ||||
| 246 | 6684667 | 2.15 | 2.60 | |
| Tope de golpes (antiguo 460-3252k-20) | ||||
| 247 | 6690705 | 3.30 | 3.99 | |
| Atrapacadenas (antiguo 125-3252k-90) | ||||
| 248 | 6687163 | 3.30 | 3.99 | |
| Perno especial (antiguo 380-04063-20) | ||||
| 249 | 6689734 | 3.30 | 3.99 | |
| Tubo de combustible (antiguo 700-07105-02) | ||||
| 250 | 6685154 | 1.15 | 1.39 | |
| Ya no disponible, sin reemplazo | ||||
| 251 | 6688113 | |||
| Tornillo autorroscante 5x35 (antiguo 990-73050-354 | ||||
| 252 | 6695107 | 1.15 | 1.39 | |
| Collar 15 (antiguo 659-37922-20) | ||||
| 253 | 6692248 | 1.15 | 1.39 | |
| Ya no disponible, sin reemplazo | ||||
| 254 | 6697756 | |||
| Ya no disponible, sin reemplazo | ||||
| 255 | 6697888 | |||
| Bobina | ||||
| 256 | 6687695 | 76.38 | 92.41 | |
| Tornillo con agujero hexagonal M4x18/ws (antiguo 9 | ||||
| 257 | 6684599 | 2.15 | 2.60 | |
| Ya no disponible, sin reemplazo | ||||
| 271 | 6693454 | |||
| Tuerca de abrazadera de barra de cadena (antiguo 1 | ||||
| 272 | 6687105 | 1.15 | 1.39 | |
| Tornillo autoperforante 4x14 P (viejo 993-49040-14 | ||||
| 273 | 6695280 | 1.15 | 1.39 | |
| Caja lateral ass'y (antiguo 040-3285a-91) | ||||
| 277 | 6686093 | 28.14 | 34.05 | |
| No hay información disponible, no se puede pedir | ||||
| 280 | 6699263 | |||
| Collar de fijación del limpiador (antiguo 470-1024 | ||||
| 281 | 6690805 | 1.15 | 1.39 | |
| Tope de guardamanos (viejo 807-3252k-20) Nuevo | ||||
| 282 | 6693477 | 2.10 | 2.54 | |
| Resorte de palanca de freno (antiguo 388-3252k-21) | ||||
| 283 | 6689781 | 2.31 | 2.80 | |
| Cubierta de enlace de freno (antiguo 375-3252y-21) | ||||
| 288 | 6689709 | 2.31 | 2.80 | |
| Tornillo autorroscante D4x10 (antiguo 993-41040-10 | ||||
| 289 | 6685161 | 1.15 | 1.39 | |
| Placa de guía B (antiguo 6690750) | ||||
| 290 | 6697598 | 3.30 | 3.99 | |
| Tornillo 4x8 (antiguo 990-11040-081) | ||||
| 291 | 6694861 | 1.15 | 1.39 | |
| Placa de guía A (antiguo 6690727) | ||||
| 292 | 6697597 | 3.30 | 3.99 | |
| Perno de cadena de la barra de la cadena (antiguo | ||||
| 293 | 6686804 | 2.31 | 2.80 | |
| Ensamble de perno de tensión de cadena (viejo 116- | ||||
| 294 | 6687073 | 3.30 | 3.99 | |
| Tornillo autorroscante 5x18 (antiguo 990-73050-184 | ||||
| 311 | 6695106 | 1.15 | 1.39 | |
| Empuñadura trasera (antiguo 227-3252k-22 & 6688211 | ||||
| 312 | 6688212 | 4.45 | 5.38 | |
| Bloqueo del Gatillo del Acelerador (old 257-3252k- | ||||
| 313 | 6688352 | 1.15 | 1.39 | |
| Varilla de aceleración comp. (antiguo 490-3252k-81 | ||||
| 314 | 6690967 | 5.61 | 6.79 | |
| Palanca del acelerador (antiguo 060-3252k-20) | ||||
| 315 | 6686381 | 2.31 | 2.80 | |
| Resorte de palanca de acelerador (antiguo 061-3252 | ||||
| 316 | 6686412 | 2.31 | 2.80 | |
| No hay información disponible, no se puede pedir | ||||
| 317 | 66A3228 | |||
| Pasador de Resorte 5x25 (antiguo 993-26005-254) | ||||
| 318 | 6685282 | 1.15 | 1.39 | |
| No hay información disponible, no se puede pedir | ||||
| 319 | 6688079 | |||
| Tornillo autorroscante 5x18 (antiguo 990-73050-184 | ||||
| 320 | 6695106 | 1.15 | 1.39 | |
| Conjunto de válvula de ventilación (antiguo 646-32 | ||||
| 321 | 6692172 | 4.95 | 5.99 | |
| Tubo de ventilación (antiguo 565-04063-20/6692166) | ||||
| 322 | 6691391 | 6.28 | 7.59 | |
| Amortiguador delantero (antiguo 232-3252k-20) | ||||
| 323 | 6688241 | 2.31 | 2.80 | |
| Amortiguador Comp. | ||||
| 324 | 6688261 | 4.45 | 5.38 | |
| Collarín de Amortiguador (antiguo 275-3252k-20) | ||||
| 325 | 6688478 | 1.15 | 1.39 | |
| Tornillo con agujero hexagonal 4x20 (antiguo 990-5 | ||||
| 326 | 6695039 | 1.15 | 1.39 | |
| Clip 5.2 (antiguo 680-04001-20) | ||||
| 327 | 6692311 | 1.15 | 1.39 | |
| Ya no disponible, sin reemplazo | ||||
| 328 | 6688173 | |||
| Clip.6.3 Dia. (antiguo 680-00731-20) | ||||
| 329 | 6684619 | 2.15 | 2.60 | |
| Ensamblaje del cuerpo del filtro de la bomba (anti | ||||
| 330 | 6692285 | 7.26 | 8.79 | |
| Tapa del tanque completa | ||||
| 331 | 6692111 | 3.30 | 3.99 | |
| Empaque de tapa de tanque (viejo 630-3252k-20/6685 | ||||
| 332 | 6685179 | 1.15 | 1.39 | |
| Llave combinada de caja 13x19 Minus (antiguo 883-3 | ||||
| 501 | 6693809 | 4.45 | 5.38 | |
| No hay información disponible, no se puede pedir | ||||
| 502 | 6687284 | |||
| No hay información disponible, no se puede pedir | ||||
| 503 | 6686832 | |||
| Cubierta de cadena de 20" (antiguo 945-3254d-21) | ||||
| 504 | 6694804 | 6.93 | 8.38 | |
| No hay información disponible, no se puede pedir | ||||
| 601 | 66A3790 | |||
| No hay información disponible, no se puede pedir | ||||
| 602 | 66A3806 | |||