Aquí encontrará todas las piezas y dibujos técnicos disponibles de 'Hikoki EXT-300'. Desde aquí podrá pedir todas las piezas deseadas directamente. Para muchas piezas de repuesto, es necesario pasar un pedido al fabricante. Dependiendo de la marca, el plazo de entrega puede variar entre una y cuatro semanas. Toda la información que tenemos está en nuestro sitio web. No podremos aconsejarle sobre lo que necesita hasta que entregue la máquina para su reparación. Tenga en cuenta lo siguiente a la hora de cursar su pedido:
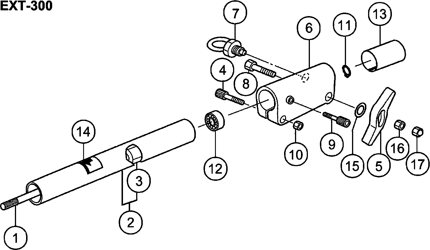
Dibujo técnico de los/las Hikoki EXT-300
Lista de las piezas de repuesto de Hikoki EXT-300
| Pos. | Descripción | Precio con el IVA excluido | Precio con el IVA incluido | |
| Los precios mostrados incluyen el IVA | ||||
| Eje de transmisión completo. (antiguo 343-30039-80 | ||||
| 1 | 6689438 | 26.16 | 31.66 | |
| Eje de Transmisión Comp.900l (antiguo 341-30039-81 | ||||
| 2 | 6689300 | 28.14 | 34.05 | |
| No hay información disponible, no se puede pedir | ||||
| 3 | 6684831 | |||
| Tornillo de agujero hexagonal M5x25/s (viejo 994-1 | ||||
| 4 | 6684709 | 2.15 | 2.60 | |
| Pomo de la manija (antiguo 512-3338p-20) | ||||
| 5 | 6684823 | 4.29 | 5.19 | |
| Caja de articulación (antiguo 280-32331-22/6697615 | ||||
| 6 | 6688517 | 32.21 | 38.98 | |
| Comp. Pin de Bloqueo (antiguo 352-32331-80) | ||||
| 7 | 6689601 | 7.93 | 9.59 | |
| Perno hexagonal 6x50 (antiguo 990-21060-504) | ||||
| 8 | 6684824 | 2.15 | 2.60 | |
| Tornillo con agujero hexagonal 5x10 (antiguo 990-5 | ||||
| 9 | 6695042 | 1.15 | 1.39 | |
| No hay información disponible, no se puede pedir | ||||
| 10 | 6685075 | |||
| Anillo de tope C-10, Exterior (antiguo 993-50010-0 | ||||
| 11 | 6684821 | 2.15 | 2.60 | |
| Rodamiento de bolas 6900zz | ||||
| 12 | 6695578 | 7.59 | 9.18 | |
| Collar B (antiguo 348-33130-20) | ||||
| 13 | 6689530 | 4.45 | 5.38 | |
| Marca de nivel (antiguo 923-33700-20) | ||||
| 14 | 6684851 | 2.15 | 2.60 | |
| No hay información disponible, no se puede pedir | ||||
| 15 | 6684642 | |||
| No hay información disponible, no se puede pedir | ||||
| 16 | 6684792 | |||
| Tuerca de gorro 6 (antiguo 991-42060-012) | ||||
| 17 | 6684828 | 2.15 | 2.60 | |