Aquí encontrará todas las piezas y dibujos técnicos disponibles de 'Hikoki HTD-2530PFB'. Desde aquí podrá pedir todas las piezas deseadas directamente. Para muchas piezas de repuesto, es necesario pasar un pedido al fabricante. Dependiendo de la marca, el plazo de entrega puede variar entre una y cuatro semanas. Toda la información que tenemos está en nuestro sitio web. No podremos aconsejarle sobre lo que necesita hasta que entregue la máquina para su reparación. Tenga en cuenta lo siguiente a la hora de cursar su pedido:
Dibujo técnico de los/las Hikoki HTD-2530PFB
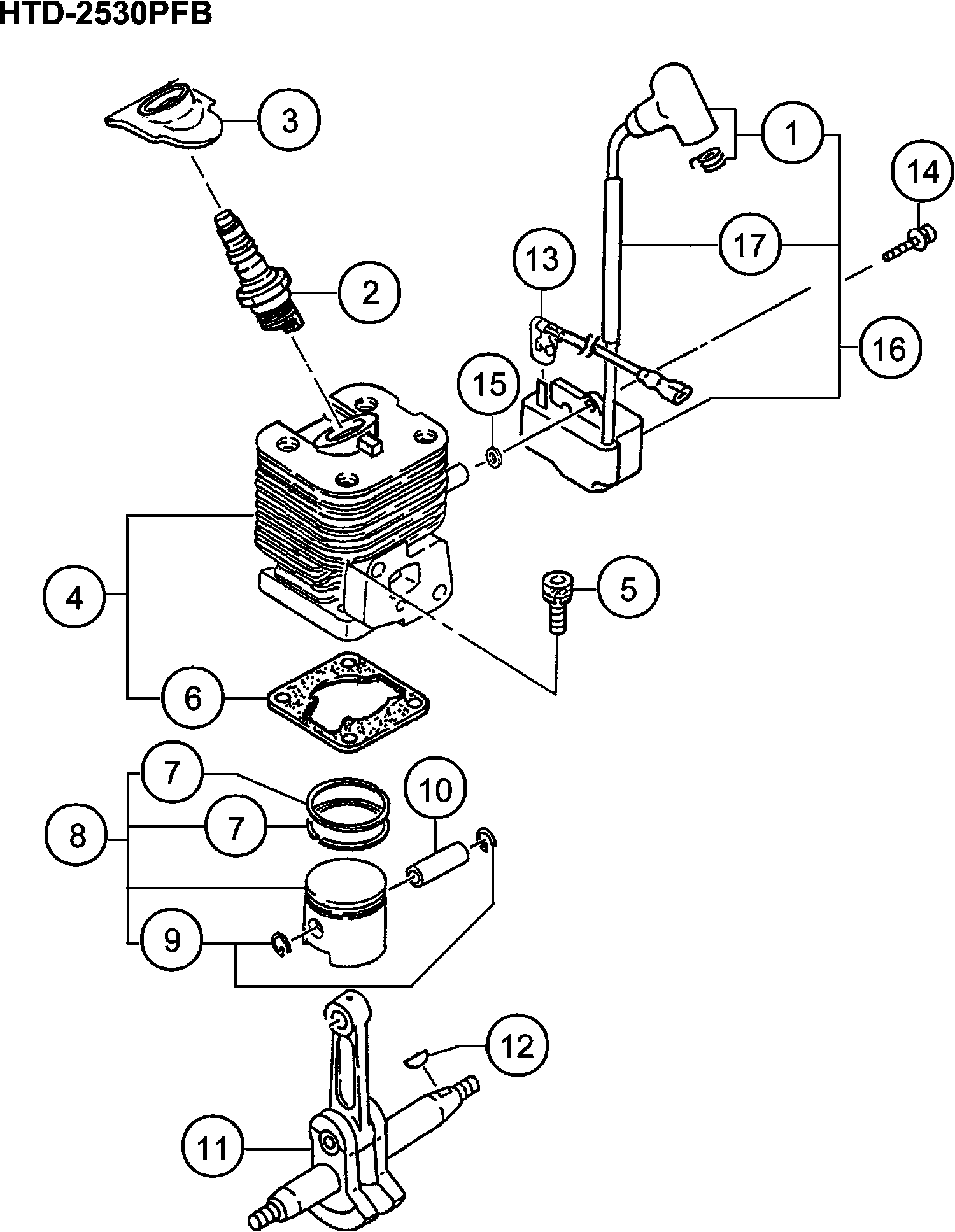
Lista de las piezas de repuesto de Hikoki HTD-2530PFB
| Pos. | Descripción | Precio con el IVA excluido | Precio con el IVA incluido | |
| Los precios mostrados incluyen el IVA | ||||
| Ensamblaje de tapa de enchufe (antiguo 157-01680-9 | ||||
| 1 | 6684894 | 8.58 | 10.38 | |
| Bujía Cj8y (antiguo 6685773) | ||||
| 2 | 6699325 | 3.30 | 3.99 | |
| Cubierta de goma de bujía (antiguo 255-01680-20) | ||||
| 3 | 6688334 | 3.30 | 3.99 | |
| Conjunto de cilindros (antiguo 001-03002-90) | ||||
| 4 | 6685462 | 66.40 | 80.34 | |
| Bolt M5x18 / s hexagonal (antiguo 994-61050-184) | ||||
| 5 | 6684586 | 2.15 | 2.60 | |
| Junta de cilindro (antiguo 017-03002-21) | ||||
| 6 | 6685728 | 1.15 | 1.39 | |
| Anillo de pistón (antiguo 041-01601-20) | ||||
| 7 | 6684588 | 8.58 | 10.38 | |
| Conjunto de pistón (antiguo 030-01680-90) | ||||
| 8 | 6685877 | 28.14 | 34.05 | |
| Circlip (antiguo 039-00000-20) | ||||
| 9 | 6685078 | 1.15 | 1.39 | |
| Pasador de pistón (antiguo 037-07020-20/6686011) | ||||
| 10 | 6686016 | 2.31 | 2.80 | |
| Ya no disponible, sin reemplazo | ||||
| 11 | 6686176 | |||
| Chaveta semilunar 3x13x4.5 (antiguo 068-10100-20) | ||||
| 12 | 6684899 | 2.15 | 2.60 | |
| Cable, B 140m (antiguo 178-03002-80) | ||||
| 13 | 6687840 | 3.30 | 3.99 | |
| Tornillo con agujero hexagonal M4x18/ws (antiguo 9 | ||||
| 14 | 6684599 | 2.15 | 2.60 | |
| Arandela (antiguo 182-0186a-20) | ||||
| 15 | 6684600 | 2.15 | 2.60 | |
| No hay información disponible, no se puede pedir | ||||
| 16 | 6687704 | |||
| Tubo aislante (antiguo 250-01680-20) | ||||
| 17 | 6688316 | 1.05 | 1.27 | |
| Calzo de eje de engranaje 0.20 (antiguo 330-00200- | ||||
| 31 | 6684604 | 2.15 | 2.60 | |
| Calzo de eje de engranaje 0.30 (antiguo 330-00200- | ||||
| 31 | 6684605 | 2.15 | 2.60 | |
| Calce del eje de engranaje 0.10 (antiguo 330-00200 | ||||
| 31 | 6689177 | 1.15 | 1.39 | |
| Calce del eje de engranaje 0.15 (antiguo 330-00200 | ||||
| 31 | 6689178 | 1.15 | 1.39 | |
| Ya no disponible, sin reemplazo | ||||
| 32 | 6688047 | |||
| Ya no disponible, sin reemplazo | ||||
| 33 | 6686529 | |||
| Sello de aceite | ||||
| 34 | 6684607 | 4.29 | 5.19 | |
| Rodamiento de bolas 6001 C3 | ||||
| 35 | 6684608 | 3.80 | 4.60 | |
| Ya no disponible, sin reemplazo | ||||
| 36 | 6686705 | |||
| Perno de Estudio 6x22 (antiguo 100-02100-20) | ||||
| 37 | 6686771 | 1.15 | 1.39 | |
| Perno de cabeza hueca hexagonal M5x30 S (antiguo 9 | ||||
| 38 | 6684786 | 2.15 | 2.60 | |
| Tornillo Hex. Agujero 5x45 (antiguo 990-51050-453) | ||||
| 39 | 6695055 | 1.15 | 1.39 | |
| Anillo 5 (antiguo 992-10050-062) | ||||
| 40 | 6684834 | 2.15 | 2.60 | |
| Roto Magneto Comp. | ||||
| 41 | 6687418 | 28.14 | 34.05 | |
| Arandela | ||||
| 42 | 6684971 | 1.04 | 1.26 | |
| Arandela M8 (antiguo 992-01080-011) | ||||
| 43 | 6684611 | 2.15 | 2.60 | |
| Tuerca M8 (antiguo 991-01080-011/327325/332299/726 | ||||
| 44 | 6684612 | 2.15 | 2.60 | |
| Junta de colector de admisión (antiguo 403-03002-2 | ||||
| 61 | 6689874 | 2.31 | 2.80 | |
| Conjunto de Aislantes de Repuesto (antiguo 404-030 | ||||
| 62 | 6689937 | 6.60 | 7.99 | |
| Tornillo hexagonal de 5 x 25ws (antiguo 994-64050- | ||||
| 63 | 6695515 | 1.15 | 1.39 | |
| Junta de carburador (antiguo 402-03002-20) | ||||
| 64 | 6689828 | 3.30 | 3.99 | |
| Anillo en O P-15 | ||||
| 65 | 6698966 | 1.04 | 1.26 | |
| Cuerpo de limpiador completo (antiguo 423-06500-81 | ||||
| 66 | 6690119 | 4.45 | 5.38 | |
| Collar 7.5 (antiguo 470-06500-20) | ||||
| 67 | 6690804 | 1.15 | 1.39 | |
| Válvula de estrangulación (antiguo 528-03002-20) | ||||
| 68 | 6691261 | 3.30 | 3.99 | |
| No hay información disponible, no se puede pedir | ||||
| 69 | 6684658 | |||
| Placa de verificación de soplado (antiguo 476-0170 | ||||
| 70 | 6690843 | 1.15 | 1.39 | |
| Arandela (antiguo 992-10050-012) | ||||
| 71 | 6684662 | 2.15 | 2.60 | |
| Tornillo M5x60 (antiguo 990-11050-602) | ||||
| 72 | 6684660 | 2.15 | 2.60 | |
| Tornillo especial (antiguo 380-0637c-20) | ||||
| 73 | 6689737 | 1.15 | 1.39 | |
| Esponja de limpieza | ||||
| 74 | 6690364 | 1.15 | 1.39 | |
| Cubierta del filtro de aire | ||||
| 75 | 6690415 | 5.28 | 6.38 | |
| Juego de carburador | ||||
| 76 | 6690461 | 62.31 | 75.40 | |
| Tubo de protección Ass'y | ||||
| 77A | 6601195 | 26.48 | 32.03 | |
| Clip D6 (antiguo 680-00070-20) | ||||
| 78 | 6685198 | 1.15 | 1.39 | |
| No hay información disponible, no se puede pedir | ||||
| 79 | 6684620 | |||
| No hay información disponible, no se puede pedir | ||||
| 82 | 6697187 | |||
| Tapa del tanque D Ass'y (antiguo 595-03002-90/6685 | ||||
| 83 | 6691748 | 7.59 | 9.18 | |
| Collar 5.8 (antiguo 659-00801-20) | ||||
| 84 | 6692244 | 1.15 | 1.39 | |
| Perno de agujero hexagonal 5x18ps (antiguo 994-630 | ||||
| 85 | 6695505 | 1.15 | 1.39 | |
| Tapa giratoria (antiguo 560-07120-21/6684628) | ||||
| 86 | 6691337 | 1.15 | 1.39 | |
| Bomba de Cebado Comp. (antiguo 442-25143-80) | ||||
| 87 | 6685139 | 5.94 | 7.18 | |
| Tubo de combustible 2.5x4x80 (antiguo 700-02504-08 | ||||
| 88 | 6692347 | 1.15 | 1.39 | |
| Tubo de combustible 2.5x4x70 (antiguo 700-02504-07 | ||||
| 89 | 6692346 | 1.15 | 1.39 | |
| Goma de retorno hasta 7.2014 (antigua 6684627) | ||||
| 90 | 6697846 | 1.04 | 1.26 | |
| Protector del silenciador (antiguo 738-03002-21) | ||||
| 101 | 6692772 | 9.90 | 11.98 | |
| Silenciador Ass'y | ||||
| 102A | 6601160 | 72.45 | 87.66 | |
| Arandela (b) Ds9dva/ds12dva/ds14dv Ds14dva/ds14dvb | ||||
| 103A | 6696547 | 1.05 | 1.27 | |
| Tornillo de orificio hexagonal 6x55 (antiguo 990-5 | ||||
| 104 | 6695086 | 1.15 | 1.39 | |
| Carcasa del ventilador | ||||
| 105 | 6686957 | 16.79 | 20.31 | |
| Resorte de retroceso (antiguo 780-06097-20/6697591 | ||||
| 106 | 6684675 | 11.55 | 13.98 | |
| Bobina de cuerda de arranque (antiguo 774-06097-20 | ||||
| 107 | 6693066 | 3.30 | 3.99 | |
| Tornillo de ajuste (antiguo 839-02010-20/6693638) | ||||
| 108 | 6693633 | 1.15 | 1.39 | |
| Ensamblaje de polea de arranque (antiguo 798-06500 | ||||
| 109 | 6693405 | 4.45 | 5.38 | |
| Pasacables primario (antiguo 203-06000-20) | ||||
| 110 | 6688049 | 1.15 | 1.39 | |
| Cuerda de arranque (antiguo 783-06097-20/6693174) | ||||
| 111 | 6693168 | 2.31 | 2.80 | |
| Manija de inicio | ||||
| 112 | 6693237 | 1.15 | 1.39 | |
| Bolt de agujero hexagonal 4x15/ps (antiguo 994-630 | ||||
| 113 | 6684682 | 2.15 | 2.60 | |
| No hay información disponible, no se puede pedir | ||||
| 114 | 6692718 | |||
| Arandela | ||||
| 115 | 6684661 | 2.15 | 2.60 | |
| Tornillo 5x8/s (antiguo 994-14050-081) | ||||
| 116 | 6695332 | 1.05 | 1.27 | |
| EMBRAGUE DE DESLIZAMIENTO COMPLETO | ||||
| 117 | 6688494 | 9.74 | 11.78 | |
| Tornillo autorroscante 4.5x10 (antiguo 990-73045-1 | ||||
| 118 | 6695104 | 1.15 | 1.39 | |
| Tornillo 4x12ps (antiguo 994-25040-128) | ||||
| 119 | 6695441 | 1.15 | 1.39 | |
| Muelle de trinquete de arranque (antiguo 790-06097 | ||||
| 120 | 6684684 | 4.29 | 5.19 | |
| Trinquete de arranque (antiguo 788-06500-20) | ||||
| 121 | 6693319 | 2.31 | 2.80 | |
| Tornillo de ajuste del acelerador (antiguo 548-251 | ||||
| 131 | 6684698 | 4.29 | 5.19 | |
| Giratorio (antiguo 539-25120-20) | ||||
| 132 | 6684697 | 6.44 | 7.79 | |
| Anillo de parada (antiguo 489-25100-20) | ||||
| 133 | 6684696 | 2.15 | 2.60 | |
| O-RING (antiguo 550-25100-20) | ||||
| 134 | 6684695 | 4.29 | 5.19 | |
| Chorro principal #35 (antiguo 599-2001w-35) | ||||
| 135 | 6691873 | 6.28 | 7.59 | |
| Junta de bomba (viejo 577-25100-20) | ||||
| 136 | 6691457 | 7.10 | 8.59 | |
| Diafragma de bomba (antiguo 576-25100-20 & 6696325 | ||||
| 137 | 6684693 | 8.58 | 10.38 | |
| Pantalla de entrada (antiguo 578-25007-20) | ||||
| 138 | 6684700 | 4.29 | 5.19 | |
| Cuerpo de Bomba Comp. (antiguo 575-25225-80) Nuevo | ||||
| 139 | 6691435 | 15.26 | 18.47 | |
| Ya no disponible, sin reemplazo | ||||
| 140 | 6685220 | |||
| Diafragma de medición Comp. (antiguo 474-25241-80) | ||||
| 141 | 6690830 | 11.88 | 14.37 | |
| Cubierta del diafragma (antiguo 476-25004-20) | ||||
| 142 | 6685222 | 4.45 | 5.38 | |
| Tornillo de fijación (antiguo 548-25101-20) | ||||
| 143 | 6691312 | 1.15 | 1.39 | |
| Marco Ch66eb3/ch78ec3 | ||||
| 151 | 6696363 | 8.85 | 10.71 | |
| Mango (antiguo 210-33247-20) | ||||
| 152 | 6688097 | 9.90 | 11.98 | |
| Collar amortiguador B (antiguo 276-32710-20) | ||||
| 153 | 6688485 | 1.15 | 1.39 | |
| Amortiguador B (antiguo 266-32750-20/6688412) | ||||
| 154 | 6688412 | 1.15 | 1.39 | |
| Arandela | ||||
| 155 | 6689680 | 1.15 | 1.39 | |
| Perno de cabeza hueca hexagonal M5x30 S (antiguo 9 | ||||
| 156 | 6684786 | 2.15 | 2.60 | |
| Ya no disponible, sin reemplazo | ||||
| 157 | 6696359 | |||
| Comp. de soporte de manija (antiguo 040-33160-80) | ||||
| 158 | 6686111 | 2.31 | 2.80 | |
| Tornillo Hex. Agujero 5x40 (antiguo 990-51050-403) | ||||
| 159 | 6695054 | 1.15 | 1.39 | |
| Anillo 5 (antiguo 992-10050-062) | ||||
| 160 | 6684834 | 2.15 | 2.60 | |
| Arandela M5 (old 992-01050-061) | ||||
| 161 | 6684918 | 2.15 | 2.60 | |
| No hay información disponible, no se puede pedir | ||||
| 171A | 6698868 | |||
| Terminal de tierra | ||||
| 172A | 6696350 | 1.05 | 1.27 | |
| No hay información disponible, no se puede pedir | ||||
| 173 | 6697609 | |||
| Bloqueo del interruptor | ||||
| 174 | 6696344 | 1.05 | 1.27 | |
| Resorte de la palanca del acelerador | ||||
| 175 | 6696345 | 1.05 | 1.27 | |
| Terminal de Pestaña | ||||
| 176A | 6696355 | 1.05 | 1.27 | |
| Tornillo 3x10 (antiguo 994-31030-101) | ||||
| 177 | 6684913 | 2.15 | 2.60 | |
| Botón Stop (antiguo 258-11650-20) | ||||
| 178 | 6688366 | 1.15 | 1.39 | |
| Botón de parada Marca (antiguo 925-33160-20) | ||||
| 179 | 6694588 | 1.15 | 1.39 | |
| Resorte (a) | ||||
| 180 | 6696348 | 1.05 | 1.27 | |
| PALANCA DE BLOQUEO | ||||
| 181 | 6696346 | 1.05 | 1.27 | |
| Resorte (b) | ||||
| 182 | 6696349 | 1.05 | 1.27 | |
| Regulador | ||||
| 183 | 6696343 | 1.05 | 1.27 | |
| PALANCA DE LIBERACIÓN | ||||
| 184 | 6696347 | 1.05 | 1.27 | |
| Cable del acelerador | ||||
| 185A | 6698828 | 3.15 | 3.81 | |
| Tubo de Protección 150l (antiguo 164-07015-01) | ||||
| 186 | 6687524 | 1.15 | 1.39 | |
| No hay información disponible, no se puede pedir | ||||
| 187 | 6697189 | |||
| Manija (b) | ||||
| 188A | 6698869 | 4.65 | 5.63 | |
| Tornillo roscador D4 | ||||
| 189 | 6697190 | 1.04 | 1.26 | |
| Ya no disponible, sin reemplazo | ||||
| 190 | 6698870 | |||
| Caja de engranajes Comp. (antiguo 300-33290-81 & 6 | ||||
| 201 | 6688684 | 15.13 | 18.30 | |
| Anillo de parada C-15, exterior (antiguo 993-50015 | ||||
| 202 | 6695285 | 1.15 | 1.39 | |
| No hay información disponible, no se puede pedir | ||||
| 203 | 6697745 | |||
| Tambor de embrague Comp. (viejo 288-33180-80) | ||||
| 204 | 6688570 | 17.70 | 21.42 | |
| Placa de guía (antigua 075-33160-20) | ||||
| 205 | 6686612 | 1.15 | 1.39 | |
| Varilla de leva (viejo 101-33190-20) | ||||
| 206 | 6686811 | 5.78 | 6.99 | |
| Engranaje 2 Comp. (antiguo 292-33194-80) | ||||
| 207 | 6688625 | 30.25 | 36.60 | |
| Junta de caja de engranajes (viejo 303-33160-20) | ||||
| 208 | 6688909 | 1.15 | 1.39 | |
| Ya no disponible, sin reemplazo | ||||
| 209 | 6692101 | |||
| Ya no disponible, sin reemplazo | ||||
| 210 | 6687144 | |||
| Perno de avellanado con agujero hexagonal 6x25 (an | ||||
| 211 | 6695075 | 1.15 | 1.39 | |
| Cuchillo superior (a) | ||||
| 212 | 6687092 | 60.35 | 73.02 | |
| Ya no disponible, sin reemplazo | ||||
| 213 | 6686654 | |||
| Ya no disponible, sin reemplazo | ||||
| 214 | 6687187 | |||
| Tornillo | ||||
| 215 | 6687158 | 1.15 | 1.39 | |
| Tuerca de brida | ||||
| 216 | 6695170 | 1.15 | 1.39 | |
| Ya no disponible, sin reemplazo | ||||
| 217 | 6695485 | |||
| Perno de agujero hexagonal 4x15/s (antiguo 994-610 | ||||
| 218 | 6695487 | 2.31 | 2.80 | |
| TEATRO DE GRASA COMP. (VIEJO 300-32250-80) | ||||
| 219 | 6688643 | 1.15 | 1.39 | |
| Perno de orificio hexagonal 6x18/s (modelo anterio | ||||
| 220 | 6695495 | 1.15 | 1.39 | |
| Arandela | ||||
| 221 | 6684822 | 2.15 | 2.60 | |
| Placa de apoyo (vieja 462-33290-20) | ||||
| 222 | 6690762 | 3.30 | 3.99 | |
| Tuerca 6 Ups-p (antigua 991-87060-001 & 6698766) | ||||
| 223 | 6695175 | 1.15 | 1.39 | |
| Arandela | ||||
| 224 | 6684639 | 2.15 | 2.60 | |
| Caja de engranajes B (antiguo 301-33160-21) | ||||
| 225 | 6688844 | 7.50 | 9.08 | |
| Tuerca de resorte 6 (antiguo 994-40060-011) | ||||
| 227 | 6695475 | 1.15 | 1.39 | |
| Placa de guarda (antiguo 135-33191-20) | ||||
| 228 | 6687275 | 2.31 | 2.80 | |
| Rodamiento de bolas 608 Zz C3 | ||||
| 229 | 6695547 | 3.30 | 3.99 | |
| Llave combinada 10x19 ,más (viejo 036-29331-50) | ||||
| 501 | 6685997 | 4.45 | 5.38 | |
| No hay información disponible, no se puede pedir | ||||
| 502 | 6684813 | |||