Aquí encontrará todas las piezas y dibujos técnicos disponibles de 'Milwaukee 4000403326 ( DG30E )'. Desde aquí podrá pedir todas las piezas deseadas directamente. Para muchas piezas de repuesto, es necesario pasar un pedido al fabricante. Dependiendo de la marca, el plazo de entrega puede variar entre una y cuatro semanas. Toda la información que tenemos está en nuestro sitio web. No podremos aconsejarle sobre lo que necesita hasta que entregue la máquina para su reparación. Tenga en cuenta lo siguiente a la hora de cursar su pedido:
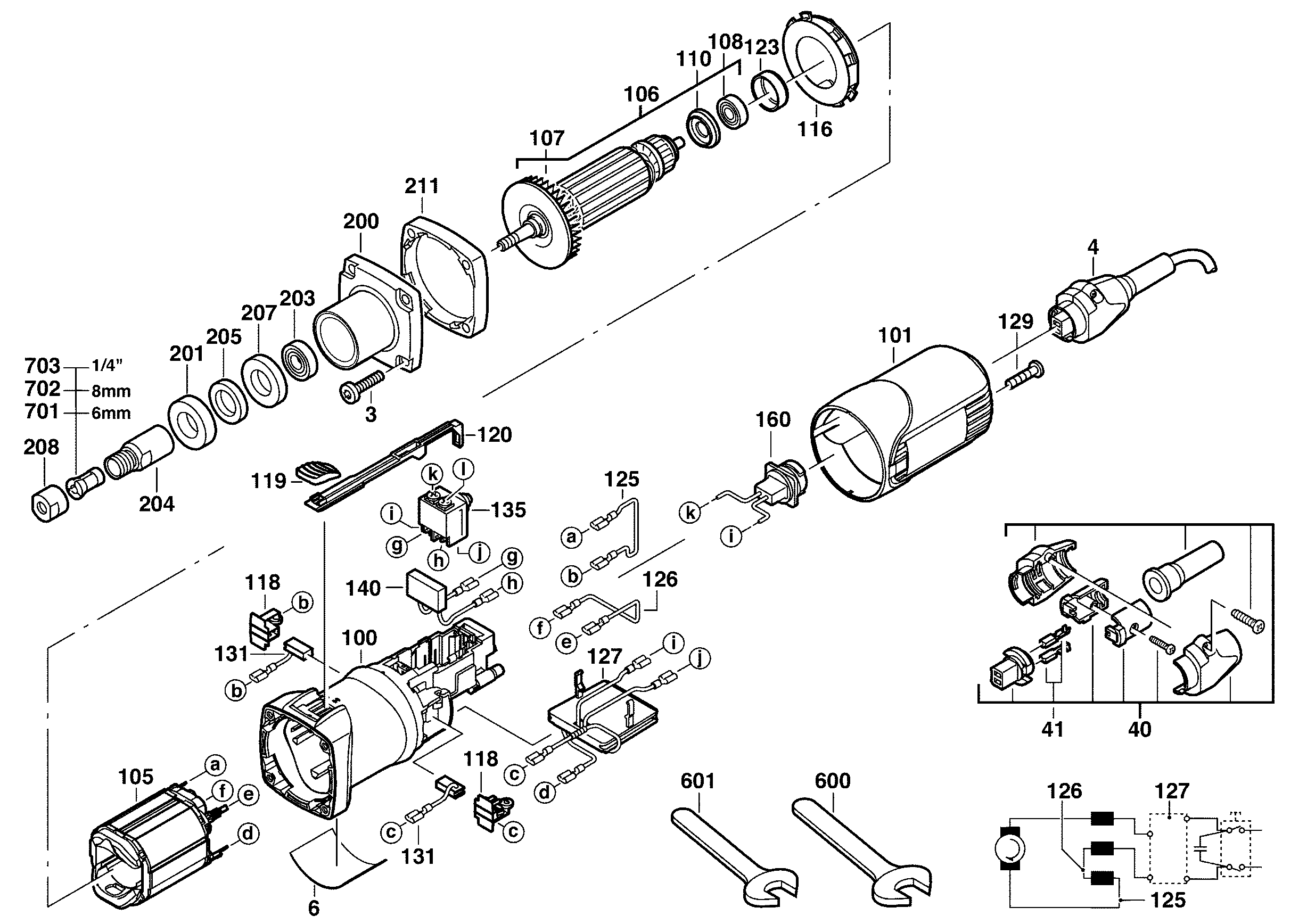
Dibujo técnico de los/las Milwaukee 4000403326 ( DG30E )
Lista de las piezas de repuesto de Milwaukee 4000403326 ( DG30E )
| Pos. | Descripción | Precio con el IVA excluido | Precio con el IVA incluido | |
| Los precios mostrados incluyen el IVA | ||||
| TORNILLO D 7981 3,9X32 | ||||
| 0003 | 4931621515 | 1.80 | 2.18 | |
| CABLE DE CONEXIÓN IN2 | ||||
| 0004 | 4931624171 | 33.00 | 39.93 | |
| Snoer 230V QUIK-LOK, reparatieset | ||||
| 0040 | 4931380758 | 40.26 | 48.71 | |
| ENCHUFE DE CABLE p./10 | ||||
| 0041 | 4931380763 | 25.34 | 30.66 | |
| CAJA DEL MOTOR | ||||
| 0100 | 4931403004 | 9.00 | 10.89 | |
| CAPUCHA DE LA VIVIENDA | ||||
| 0101 | 4931403014 | 9.00 | 10.89 | |
| Ya no disponible, sin reemplazo | ||||
| 0105 | 4931426482 | |||
| ARMADURA | ||||
| 0106 | 4931426259 | 52.27 | 63.25 | |
| Ya no disponible, sin reemplazo | ||||
| 0107 | 4931368347 | |||
| RODAMIENTO DE BOLAS | ||||
| 0108 | 4931902888 | 9.00 | 10.89 | |
| DISCO AISLANTE | ||||
| 0110 | 4931385658 | 5.40 | 6.53 | |
| ANILLO DEFLECTOR DE AIRE | ||||
| 0116 | 4931368549 | 5.40 | 6.53 | |
| PORTACEPILLOS | ||||
| 0118 | 4931368633 | 5.40 | 6.53 | |
| Deslizador (1) | ||||
| 0119 | 4931368501 | 5.40 | 6.53 | |
| PIEZA DE GUÍA | ||||
| 0120 | 4931368333 | 5.40 | 6.53 | |
| Manga de goma (1) | ||||
| 0123 | 4931393018 | 5.40 | 6.53 | |
| ESPACIADOR/CABLE DE ACERO | ||||
| 0125 | 4931624081 | 5.40 | 6.53 | |
| ESPACIADOR/CABLE DE ACERO | ||||
| 0126 | 4931253598 | 5.40 | 6.53 | |
| ELEMENTO ELECTRICO | ||||
| 0127 | 4931385106 | 55.44 | 67.08 | |
| Tornillo | ||||
| 0129 | 4931618253 | 1.80 | 2.18 | |
| JUEGO DE ESCOBILLAS DE CARBÓN | ||||
| 0131 | 4931392611 | 10.80 | 13.07 | |
| INTERRUPTOR | ||||
| 0135 | 4931385824 | 7.20 | 8.71 | |
| CONDENSADOR | ||||
| 0140 | 4931403213 | 8.09 | 9.79 | |
| TAPA DE PLÁSTICO | ||||
| 0160 | 4931368393 | 5.40 | 6.53 | |
| ANILLO DE SELLO | ||||
| 0201 | 4931278527 | 8.09 | 9.79 | |
| RODAMIENTO DE BOLAS | ||||
| 0203 | 4931901253 | 9.00 | 10.89 | |
| MANGUITO DE HUSILLO | ||||
| 0204 | 4931351872 | 25.34 | 30.66 | |
| ARANDELA DE FIELTRO | ||||
| 0205 | 4931278529 | 1.80 | 2.18 | |
| PORTADOR | ||||
| 0207 | 4931278549 | 5.40 | 6.53 | |
| TUERCA DE SUJECIÓN | ||||
| 0208 | 4931409786 | 9.00 | 10.89 | |
| BRIDA INTERMEDIA | ||||
| 0211 | 4931354044 | 5.40 | 6.53 | |
| LLAVE | ||||
| 0600 | 4931822228 | 3.60 | 4.36 | |
| LLAVE D894 15 | ||||
| 0601 | 4931606563 | 3.60 | 4.36 | |
| Spantang 6 mm oa voor frees DGL 30/34 - OFS 450 | ||||
| 0701 | 4932313192 | 17.60 | 21.30 | |
| Spantang 8 mm oa voor frees DGL 30/34 - OFS 450 | ||||
| 0702 | 4932313190 | 18.15 | 21.96 | |
| Spantang 6,35 mm oa voor frees DGL 30/34 - OFS 450 | ||||
| 0703 | 4932313194 | 18.15 | 21.96 | |